Тесты онлайн, бесплатный конструктор тестов. Психологические тестирования, тесты на проверку знаний.
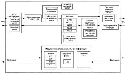
Список вопросов базы знанийКомпьютерная телефония (курс 1)Вопрос id:1616127 Интернет показывает, что в некоторых случаях интенсивность нагрузки на одну абонентскую линию может достигать ___ Эрланга в час наибольшей нагрузки (ЧНН) ?) 2,0 ?) 1,5 ?) 1,0 ?) 0,8 Вопрос id:1616128 Интернет – это совокупность тысяч компьютеров, объединенных в сети, которые, в свою очередь, соединены между собой посредством ?) терминалов ?) контроллеров ?) адаптеров ?) маршрутизаторов Вопрос id:1616129 К настоящему времени для DiffServ определено два класса трафика: 1) класс срочной пересылки пакетов; 2) класс гарантированной пересылки пакетов; 3) класс запаздывающей пересылки пакетов; 4) класс комбинированной пересылки пакетов ?) 1, 2 ?) 2, 3 ?) 1, 2, 3 ?) 3, 4 Вопрос id:1616130 Каждому значению кода DiffServ соответствует свой ___ PHB, определяющий уровень обслуживания в каждом из сетевых узлов ?) вид ?) уровень ?) пакет ?) класс Вопрос id:1616131 Квантование - процесс дискретизации полученных отсчетов по ?) времени ?) частоте ?) амплитуде ?) скорости Вопрос id:1616132 Кодек G.729 использует кадр длительностью 10 мс и обеспечивает скорость передачи ___ Кбит/с ?) 32 ?) 64 ?) 16 ?) 8 Вопрос id:1616133 Кодек ___ очень популярен в приложениях передачи речи по сетям Frame Relay использует технологию CS-ACELP (Conjugate Structure, Algebraic Code Excited Linear Prediction) ?) G.711 ?) G.726 ?) G.729 ?) G.728 Вопрос id:1616134 Кодек ___ использует оригинальную технологию с малой задержкой LD-CELP (low delay code excited linear prediction) и гарантирует оценки MOS, аналогичные АДИКМ G.726 при скорости передачи 16 Кбит/с ?) G.729 ?) G.728 ?) G.711 ?) G.726 Вопрос id:1616135 Кодек ___производит кадры длительностью 30 мс с продолжительностью предварительного анализа 7.5 мс ?) G.728 ?) G.723.1 ?) G.726 ?) G.711 Вопрос id:1616136 Кодеры, в которых реализуются методы кодирования, использующие особенности человеческой речи, связанные со строением голосового аппарата, называют ?) декодерами ?) вокодерами ?) аудиокодерами ?) тоновыми кодерами Вопрос id:1616137 Модуль IPU подключается к АТС по цифровым трактам ?) E1 ?) B1 ?) D1 ?) C1 Вопрос id:1616138 Модуль ___ шлюза IP-телефонии выполняет функции подготовки речевого сигнала, поступающего из ТфОП с постоянной скоростью, для дальнейшей его передачи по сети с маршрутизацией пакетов IP ?) пакетирования речи ?) телефонной сигнализации ?) сетевых протоколов ?) логики услуг Вопрос id:1616139 Модуль ___, входящий в комплекс оборудования АТСЦ-90, позволяет организовать интеграцию коммутационного оборудования АТС в сети с маршрутизацией пакетов IP ?) IPU ?) 1Р-РВХ ?) IPoP ?) SNT Вопрос id:1616140 Модуль ___ шлюза IP-телефонии отвечает за маршрутизацию вызова, поступившего из ТфОП в IP-сеть ?) сетевых протоколов ?) пакетирования речи ?) логики услуг ?) телефонной сигнализации Вопрос id:1616141 Модуль сигнализации Н.323 обрабатывает сигнальную информацию протоколов: 1) RAS; 2) Н.225.0 (Q.931); 3) Н.245; 4) Н.242; 5) Н.324 ?) 1, 2, 3 ?) 2, 3, 4 ?) 2, 3, 5 ?) 3, 4, 5 Вопрос id:1616142 На рисунке показан ___ сети Н.323 ![]() ?) шлюз ?) привратник ?) терминал ?) синхронизатор Вопрос id:1616143 На рисунке показан алгоритм ![]() ?) Leaky Bucket ?) Generic Cell Rate Algorithm (GCRA) ?) Weighted Fair Queuing (WFQ) ?) Token Bucket Вопрос id:1616144 На рисунке показан алгоритм ![]() ?) Weighted Fair Queuing (WFQ) ?) Leaky Bucket ?) Token Bucket ?) Generic Cell Rate Algorithm (GCRA) Вопрос id:1616145 На рисунке показан модуль ![]() ?) логики услуг ?) пакетирования речи ?) сетевых протоколов ?) телефонной сигнализации Вопрос id:1616146 На рисунке показана модель ![]() ?) RSVP ?) IntServ ?) DiffServ ?) PHB Вопрос id:1616147 На рисунке показана упрощенная блок-схема ![]() ?) LPC-декодера ?) LPC-кодера ?) ABS-кодера ?) ABS-декодера Вопрос id:1616148 Оценка MOS ___ – высокое качество; аналогично качеству передачи речи в ISDN, или еще выше ?) 3-3.5 ?) 3.5-4 ?) 4-5 ?) 2.5-3 Вопрос id:1616149 Оценка MOS ___ – качество ТфОП (toll quality); аналогично качеству речи, передаваемой с помощью кодека АДИКМ при скорости 32 Кбит/с. Такое качество обычно обеспечивается в большинстве телефонных разговоров ?) 3-3.5 ?) 4-5 ?) 3.5-4 ?) 2.5-3 Вопрос id:1616150 Оценка MOS ___ – речь разборчива, однако требует концентрации внимания для понимания ?) 3.5-4 ?) 3-3.5 ?) 4-5 ?) 2.5-3 Вопрос id:1616151 Первая операция механизма обеспечения QoS, применяемого в DiffServ, состоит в ?) маркировании пакетов ?) организации очередей с учетом приоритетов ?) выборе алгоритмов передачи ?) классификации пакетов на основании их заголовков Вопрос id:1616152 По протоколу ___ происходит обмен между участниками соединения информацией, которая необходима для создания логических каналов ?) Н.225.0 ?) H.323 ?) Н.245 ?) RAS Вопрос id:1616153 При использовании алгоритма WFQ определение веса потока производится по полю precedence заголовка IP-пакета. Значение данного поля лежит в пределах от ?) 0 до 5 ?) 0 до 10 ?) 0 до 7 ?) 0 до 1 Вопрос id:1616154 При использовании механизма ___ трафику определенных классов гарантируется требуемая скорость передачи, а оставшийся ресурс распределяется между остальными классами ?) PQ ?) CBQ ?) FIFO ?) WFQ Вопрос id:1616155 Протокол IP использует ___ поля(ей) заголовка для управления фрагментацией/сборкой дейтаграмм ?) 3 ?) 5 ?) 4 ?) 2 Вопрос id:1616156 Рекомендация ___ – стандарт, позволяющий сжимать речевой сигнал в 12 раз и транспортировать его со скоростью 5,3 или 6,3 Кбит/с ?) G.729 ?) G.729.A ?) G 723.1 ?) G.720 Вопрос id:1616157 Система ___ доступа – система, которая, получив запрос сеанса связи, в зависимости от наличия требуемых ресурсов, либо допускает этот запрос к дальнейшей обработке, либо дает отказ ?) приоритетного ?) контроля ?) резервного ?) автоматизированного Вопрос id:1616158 Система ___ – это система, использующая специальный протокол сигнализации, который служит для запроса приложением нужного ему уровня качества обслуживания и для координации обработки этого запроса всеми устройствами сети ?) создания протокола ?) резервирования ресурсов ?) резервирования очередей ?) контроля доступа Вопрос id:1616159 Скорость передачи, которую предусматривают имеющиеся сегодня узкополосные кодеки, лежит в пределах ___ Кбит/с ?) 2-16 ?) 32-64 ?) 116-64 ?) 1,2-64 Вопрос id:1616160 Современное оборудование IP-телефонии при включении «спина к спине» (два устройства – шлюза – соединяются напрямую) вносит задержку порядка ___ мс ?) 60 ?) 100 ?) 140 ?) 10 Вопрос id:1616161 Суть механизма ___ модуля пакетирования речи шлюза IP-телефонии заключается в буферизации речевых пакетов для сглаживания вариации их задержки ?) активности речи ?) пакетной передачи ?) адаптации воспроизведения ?) обработки факсимильной информации Вопрос id:1616162 Существует множество подходов к «сжатию» речевой информации; все их можно разделить на следующие категории: 1) кодирование формы сигнала; 2) кодирование исходной информации; 3) кодирование амплитуды сигнала; 4) гибридное кодирование ?) 1, 2, 3 ?) 1, 2 ?) 2, 3, 4 ?) 1, 2, 4 Вопрос id:1616163 Существуют следующие основные методы передачи сигналов DTMF по сетям IP-телефонии: 1) обязательный метод; 2) нестандартный метод; 3) комбинированный метод; 4) алгоритмический метод ?) 1, 2 ?) 1, 2, 3 ?) 3, 4 ?) 2, 3 Вопрос id:1616164 Существуют следующие типы устройств, предназначенных для ограничения вредных эффектов эха: 1) эхозаградители; 2) эхокмпенсаторы; 3) экошлюзы; 4) эхопоглощатели ?) 3, 4 ?) 1, 2 ?) 2, 3 ?) 1, 2, 4 Вопрос id:1616165 Теорема отсчетов гласит, что аналоговый сигнал может быть успешно восстановлен из последовательности выборок с частотой, которая превышает, как минимум, ___ максимальную частоту, присутствующую в спектре сигнала ?) вчетверо ?) втрое ?) впятеро ?) вдвое Вопрос id:1616166 Техническое обслуживание оборудования центра обработки вызовов осуществляется через протокол ?) SIP ?) http ?) RADIUS ?) RAS Вопрос id:1616167 Технология многопротокольной коммутации по меткам ___, разработанная комитетом IETF, явилась результатам слияния нескольких разных механизмов, таких как IP Switching (Ipsilon), Tag Switching (Cisco Systems), Aris (IBM) и Cell Switch Router (Toshiba) ?) RSVP ?) IntServ ?) DiffServ ?) MPLS Вопрос id:1616168 Цель любой схемы кодирования – получить такую цифровую последовательность, которая требует ___ скорости передачи и из которой декодер может восстановить исходный речевой сигнал с минимальными искажениями ?) минимальной ?) усредненной ?) максимальной ?) нулевой Вопрос id:1616169 Центр обработки вызовов в сети Internet реализован на базе технологии IP-телефонии с поддержкой протокола ?) Н.242 ?) Н.324 ?) Н.243 ?) Н.323 Вопрос id:1616170 Частота дискретизации при аналого-цифровом преобразовании выбрана равной ___ кГц, причем такая частота используется во всех телефонных сетях на нашей планете ?) 4 ?) 8 ?) 24 ?) 16 Вопрос id:1616171 Чтобы снизить необходимую скорость передачи битов, применяют ___ закон квантования ?) синусоидальный ?) равновероятностный ?) логарифмический ?) экспоненциальный Вопрос id:1616172 Шлюз IP-телефонии Протей-ITG реализует передачу речевого трафика и факсимильной информации по сетям с маршрутизацией пакетов IP по протоколу ___, версия 2 ?) Н.320 ?) Н.322 ?) Н.323 ?) Т.120 Вопрос id:1616173 Шлюз Протей-ITG подключается к ТфОП по цифровым линиям со скоростью передачи ___ Кбит/с ?) 1024 ?) 2048 ?) 4096 ?) 512 Вопрос id:1616174 Агенты пользователя (User Agent или SIP client) являются приложениями А) шлюзов B) серверов ?) А - нет, B - да ?) А - да, B - да ?) А - да, B - нет ?) А - нет, B - нет Вопрос id:1616175 В сетях с маршрутизацией пакетов IP для передачи данных всегда предусматриваются механизмы А) повторной передачи пакетов в случае их потери B) пересылки потерянных пакетов в специальный шлюз ?) А - да, B - нет ?) А - нет, B - нет ?) А - да, B - да ?) А - нет, B - да Вопрос id:1616176 В составе терминальных устройств IP-телефонии в основном применяют процессоры DSP А) со средней производительностью В) малой потребляемой мощностью ?) А - нет, B - да ?) А - да, B - нет ?) А - нет, B - нет ?) А - да, B - да |
Copyright tests.ithead.ru 2013-2026





