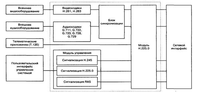
Список вопросов базы знанийКомпьютерная телефонияВопрос id:1838977 Любое TCP-соединение в сети Internet однозначно идентифицируется двумя IP-адресами и ___ номерами ТСР-портов ?) четырьмя ?) пятью ?) тремя ?) двумя Вопрос id:1838978 Модули TCP, UDP и драйвер Ethernet являются мультиплексорами типа ?) n×2 ?) n×1 ?) n×3 ?) n×4 Вопрос id:1838979 На рисунке показан ___ сети Н.323 ![]() ?) шлюз ?) синхронизатор ?) терминал ?) привратник Вопрос id:1838980 На рисунке показана архитектура сети ![]() ?) Н.322 ?) Н.324 ?) Н.323 ?) Н.320 Вопрос id:1838981 Основной целью группового вещания является создание эффективного механизма передачи данных по следующим схемам: ?) «многие-к-одному» ?) «один-к-одному» ?) «один-ко-многим» ?) «многие-ко-многим» Вопрос id:1838982 Ответы ___ на запросы информируют о том, что запрос не может быть обработан из-за отказа сервера ?) 2хх ?) 4хх ?) 6хх ?) 5хх Вопрос id:1838983 Ответы ___ на запросы означают, что запрос был успешно обработан ?) 3хх ?) 2хх ?) 4хх ?) 6хх Вопрос id:1838984 Первый в истории подход к построению сетей IP-телефонии на стандартизованной основе предложен Международным союзом электросвязи (ITU) в рекомендации ?) Q/323 ?) Н.931 ?) Н.323 ?) Q.931 Вопрос id:1838985 Поле ___ идентифицирует протокол верхнего уровня (TCP, UDP и т.д.) ?) уровня ?) протокол ?) флагов ?) время жизни Вопрос id:1838986 Поле ___ обеспечивает возможность контроля ошибок в заголовке ?) контрольная сумма заголовков ?) ошибочных заголовков ?) протокол ?) смещения заголовков Вопрос id:1838987 Поле ___ – идентификатор, который используется для ограничения времени, в течение которого дейтаграмма находится в сети ?) время жизни ?) протокол ?) флагов ?) смещение флагов Вопрос id:1838988 Поле «смещение фрагмента» (Fragment Offset) определяет положение фрагмента относительно исходной дейтаграммы в единицах, равных ___ октетам ?) 24 ?) 8 ?) 4 ?) 16 Вопрос id:1838989 Протокол IP версии 4 предусматривает размер адресного поля ?) 32 бита ?) 64 бита ?) 128 бит ?) 16 бит Вопрос id:1838990 Протокол IP использует ___ заголовка для управления фрагментацией/сборкой дейтаграмм ?) 5 полей ?) 3 поля ?) 2 поля ?) 4 поля Вопрос id:1838991 Протокол IPv6 предусматривает размер адресного поля, равный ?) 128 бит ?) 64 бита ?) 32 бита ?) 254 бита Вопрос id:1838992 Протокол ___ – протокол, который обеспечивает взаимодействие оконечных и других устройств с привратником ?) RAS ?) Н.225.0 ?) H.323 ?) (Q.931) Вопрос id:1838993 Протокол ___ – протокол, предоставляющий возможность программному обеспечению рабочей станции или маршрутизатора обмениваться информацией о проблемах маршрутизации пакетов с другими устройствами в сети ?) формирования оптимальных маршрутов ?) контрольных сообщений ?) передачи сообщений ?) преобразования адресов Вопрос id:1838994 Протокол инициирования сеансов – ___ является протоколом прикладного уровня и предназначается для организации, модификации и завершения сеансов связи: мультимедийных конференций, телефонных соединений и распределения мультимедийной информации ?) RAS ?) H.225 ?) H.245 ?) SIP Вопрос id:1838995 Протокол передачи пользовательских дейтаграмм ___ – протокол для обмена дейтаграммами между процессами компьютеров, расположенных в объединенной системе компьютерных сетей ?) FDP ?) TCP ?) SNMP ?) UDP Вопрос id:1838996 Рекомендация G.729 – стандарт, предусматривающий ___ сжатие речевого сигнала ?) 8-кратное ?) 6-кратное ?) 10-кратное ?) 12-кратное Вопрос id:1838997 Рекомендация ___ – стандарт, в котором представлены технические требования к узкополосным системам видеотелефонии, работающим в локальных вычислительных сетях с гарантированным качеством обслуживания, эквивалентным качеству обслуживания ISDN. Применение данной спецификации ограничено ЛВС IsoEthernet ?) Т.120 ?) Н.323 ?) Н.322 ?) Н.320 Вопрос id:1838998 Рекомендация ___ – стандарт, который специфицирует механизм передачи данных в системах мультимедийной связи ?) Н.320 ?) Н.324 ?) Т.120 ?) Н.322 Вопрос id:1838999 Рекомендация ___ – стандарт, который специфицирует системы мультимедийной связи, которые ориентированы на работу в сетях с коммутацией пакетов, не обеспечивающих гарантированное качество обслуживания. К таким сетям относятся локальные вычислительные сети Ethernet и Token Ring, глобальная сеть Интернет и другие сети, поддерживающие технологию маршрутизации пакетов IP или IPX ?) Т.120 ?) Н.322 ?) Н.323 ?) Н.320 Вопрос id:1839000 Совет по архитектуре Интернет ___, первоначально – Координационный совет сети Интернет – добровольный орган, имеющий в своем составе 12 экспертов, которые используют ресурсы своих компаний-спонсоров для того, чтобы способствовать интересам Интернет ?) IETF ?) IESG ?) IАВ ?) CERT Вопрос id:1839001 Способ, при помощи которого записываются все IP-адреса, называется пунктирной десятичной системой обозначений. Каждое 32-битовое адресное поле разделено на четыре поля в виде ?) хххх.хххх.хххх.хххх ?) ххх.ххх.ххх.ххх ?) хх.хх.хх.хх ?) хх.хх.ххх.ххх Вопрос id:1839002 Способ, при помощи которого записываются все IP-адреса, называется пунктирной десятичной системой обозначений. Каждое 32-битовое адресное поле разделено на четыре поля, и каждому полю дается десятичное числовое значение от ?) 0 до 125 ?) 0 до 655 ?) 0 до 255 ?) 0 до 312 Вопрос id:1839003 Схема адресации протокола ___, который был определен в RFC 791, предусматривает размер адресного поля 32 бита, что дает 232 (или 4 294 967 296) потенциальных адресов ?) IPv6 ?) IPv5 ?) IPv3 ?) IPv4 Вопрос id:1839004 Технология ___ построена на концепции суперсети (supernetting), состоящей из группы подсетей, каждой из которых присваивается адрес подсети ?) RFC ?) CIDR ?) IETF ?) CERT Вопрос id:1839005 Типичным прикладным протоколом, использующим протокол TCP, является ___ (Протокол переноса файлов) ?) UDP ?) SNMP ?) FTP ?) IP Вопрос id:1839006 Флаг управления TCP-пакета ___ - флаг окончания передачи со стороны отправителя ?) FIN ?) URG ?) SYN ?) RST Вопрос id:1839007 Флаг управления TCP-пакета ___ - флаг срочности ?) URG ?) PSH ?) АСК ?) RST Вопрос id:1839008 Флаг управления TCP-пакета ___ - флаг форсированной отправки ?) RST ?) PSH ?) SYN ?) АСК Вопрос id:1839012
На рисунке изображена структурная схема ?) Digital Signal Processors (DSP) ?) привратника Протей-GK ?) шлюза Протей-ITG Вопрос id:1839013
На рисунке показана простейшая MPLS-сеть, содержащая маршрутизаторы двух типов – пограничные и ?) транзитные ?) внутренние ?) сетевые Вопрос id:1839014 Верны ли утверждения? A) IP-телефония - часть пакета услуг Интернет-провайдеров B) Неверно считать IP-телефонию частью пакета услуг Интернет-провайдеров ?) A - да, B - нет ?) A - нет, B - нет ?) A - нет, B - да ?) A - да, B - да Вопрос id:1839015 Верны ли утверждения? A) Администрация связи вынуждена ориентироваться на некоторую среднюю величину импеданса для всех абонентских линий своей национальной сети B) Абонентские линии не различаться по своим параметрам, поэтому можно достичь точного согласования импедансов в плечах моста ?) A - нет, B - нет ?) A - да, B - да ?) A - нет, B - да ?) A - да, B - нет Вопрос id:1839016 Верны ли утверждения? A) Большинство операционных систем не может обрабатывать за несколько десятков миллисекунд более одного прерывания от внешних устройств B) Большинство операционных систем не может контролировать распределение времени центрального процессора между разными процессами с точностью, превышающей несколько десятков миллисекунд ?) A - нет, B - нет ?) A - да, B - да ?) A - да, B - нет ?) A - нет, B - да Вопрос id:1839017 Верны ли утверждения? A) В узлах IP-сетей есть средства, обеспечивающие гарантированное качество передачи информации в реальном времени B) Ни в узлах IP-сетей, ни в оборудовании пользователей в настоящее время нет средств, обеспечивающих гарантированное качество передачи информации в реальном времени ?) A - нет, B - да ?) A - да, B - нет ?) A - нет, B - нет ?) A - да, B - да Вопрос id:1839018 Верны ли утверждения? A) В функции джиттер-буфера обычно не входит восстановление исходной очередности следования пакетов, если при транспортировке по сети они оказались «перепутаны» B) В функции джиттер - буфера обычно входит и восстановление исходной очередности следования пакетов, если при транспортировке по сети они оказались «перепутаны» ?) A - да, B - да ?) A - нет, B - да ?) A - нет, B - нет ?) A - да, B - нет Вопрос id:1839019 Верны ли утверждения? A) Высокое качество обслуживания представляет интерес не только для конечного пользователя, но и для самого поставщика услуг B) Высокое качество обслуживания представляет интерес только для конечного пользователя ?) A - да, B - да ?) A - нет, B - нет ?) A - нет, B - да ?) A - да, B - нет Вопрос id:1839020 Верны ли утверждения? A) Кодирование при помощи алгоритма G.711 не накладывает никаких ограничений на вид звуковых сигналов – это может быть речь, сигналы модема, или тональные сигналы B) Узкополосные кодеки используют тот факт, что сигнал, который они кодируют, представляет речь ?) A - нет, B - нет ?) A - нет, B - да ?) A - да, B - да ?) A - да, B - нет Вопрос id:1839021 Верны ли утверждения? A) Метки для каждого FEC всегда назначаются «снизу», то есть либо выходным LER, либо тем LSR, который является для этого FEC «нижним» (расположенным ближе к адресату) B) Метки для каждого FEC распределяются по тем маршрутизаторам, которые расположены «выше» (ближе к отправителю) ?) A - нет, B - да ?) A - да, B - нет ?) A - да, B - да ?) A - нет, B - нет Вопрос id:1839022 Верны ли утверждения? A) Обычно предусматривается динамическая подстройка длины буфера в течение всего времени существования соединения B) Для выбора наилучшей длины буфера используются эвристические алгоритмы ?) A - нет, B - нет ?) A - да, B - нет ?) A - да, B - да ?) A - нет, B - да Вопрос id:1839023 Верны ли утверждения? A) Отменить резервирование можно только по инициативе отправителя или получателя с помощью специальных сообщений RSVP B) Отменить резервирование можно двумя путями. В первом случае отмена производится по инициативе отправителя или получателя с помощью специальных сообщений RSVP. Во втором случае резервирование отменяется по таймеру, ограничивающему срок существования резервирования ?) A - нет, B - нет ?) A - да, B - да ?) A - да, B - нет ?) A - нет, B - да Вопрос id:1839024 Верны ли утверждения? A) При использовании технологии MPLS любой маршрутизатор, находящийся на пути следования пакетов, анализирует заголовок каждого пакета, чтобы определить, к какому потоку этот пакет относится, и выбрать направление для его пересылки к следующему маршрутизатору B) При использовании технологии MPLS соответствие между пакетом и потоком устанавливается один раз, на входе в сеть MPLS ?) A - да, B - да ?) A - нет, B - нет ?) A - нет, B - да ?) A - да, B - нет Вопрос id:1839025 Верны ли утверждения? A) При передаче речи по IP-сети возникают намного большие, чем в ТфОП, задержки B) При передаче речи по IP-сети возникают намного меньшие, чем в ТфОП, задержки ?) A - нет, B - да ?) A - да, B - нет ?) A - да, B - да ?) A - нет, B - нет Вопрос id:1839026 Верны ли утверждения? A) Речевые и факсимильные сессии одинаково требовательны к качеству обслуживания B) Факсимильные сессии более требовательны к качеству обслуживания, чем речевые ?) A - нет, B - да ?) A - нет, B - нет ?) A - да, B - нет ?) A - да, B - да Вопрос id:1839027 Верны ли утверждения? A) Эхокомпенсаторы, рассчитанные на подавление более длительных эхосигналов, требуют для своей реализации большего объема памяти и большей производительности процессора B) Выгодно помещать эхокомпенсаторы «максимально близко», в смысле задержки, к источнику эха ?) A - нет, B - да ?) A - да, B - нет ?) A - да, B - да ?) A - нет, B - нет Вопрос id:1839028 Какой алгоритм сглаживания пульсации трафика изображен на рисунке?
?) "Leaky Bucket" ?) "Token Bucket" ?) "Taken Bucket" Вопрос id:1839029 Какой алгоритм сглаживания пульсации трафика изображен на рисунке?
?) "Token Bucket" ?) "Taken Bucket" ?) "Leaky Bucket" |





