Тесты онлайн, бесплатный конструктор тестов. Психологические тестирования, тесты на проверку знаний.
Список вопросов базы знанийСети связи и системы коммутацииВопрос id:2287998 Тема/шкала: 2762.01.01;МТ.01;1 - Модульный тест - Сети связи и системы коммутации Подключение сети доступа к сервисным узлам является ?) примером функции интерфейсов узлов услуг ?) примером встроенной функции сети доступа ?) примером транспортной функции СД ?) примером функции интерфейсов пользователей Вопрос id:2287999 Тема/шкала: 2762.01.01;МТ.01;1 - Модульный тест - Сети связи и системы коммутации При функционировании Ш-ЦСИО для служб 2 класса устанавливаются требования ?) допустима переменная скорость передачи, если не снижается качество, не требуется согласование по времени процессов передачи и приема информации, способ связи – без установления соединения ?) допустима переменная скорость передачи, если не снижается качество, необходимо согласование по времени процессов передачи и приема информации, способ связи – с установлением соединения ?) скорость передачи должна быть постоянная, не требуется согласование по времени процессов передачи и приема информации, способ связи – без установления соединения ?) допустима переменная скорость передачи, если не снижается качество, необходимо согласование по времени процессов передачи и приема информации, способ связи – без установления соединения Вопрос id:2288000 Тема/шкала: 2762.01.01;МТ.01;1 - Модульный тест - Сети связи и системы коммутации Примерами функций системы управления СД не являются ?) информирование пользователей и фиксация дат ?) координация ресурсов ?) контроль безопасности ?) управление, контроль и обслуживание интерфейса Вопрос id:2288001 Тема/шкала: 2762.01.01;МТ.01;1 - Модульный тест - Сети связи и системы коммутации Пропускная способность 80–85% и более достигается при ?) коммутации сообщений ?) коммутации каналов ?) не может быть достигнута ?) при любом способе коммутации Вопрос id:2288002 Тема/шкала: 2762.01.01;МТ.01;1 - Модульный тест - Сети связи и системы коммутации Протокол сетевого уровня, который управляет организацией физического соединения в сетях с КК на стадии установления соединения и определяет процедуру выбора направления передачи для каждой заявки в любом из узлов в сетях с КС и КП – это ?) алгоритм коммутации ?) алгоритм маршрутизации ?) протокол с такими свойствами является протоколом канального уровня ?) протоколов с такими свойствами не существует Вопрос id:2288003 Тема/шкала: 2762.01.01;МТ.01;1 - Модульный тест - Сети связи и системы коммутации Протокол – это ?) набор определенных логических процедур, специфичных для данной подсистемы, выполняемых ее активными элементами ?) совокупность устройств и логических процедур на стыке смежных подсистем, определяющих механическое, электрическое, функциональное и логическое взаимодействие разных подсистем в одной ОС ?) регламентированный набор команд и ответов, определяющий взаимодействие одноименных уровней разных ОС в штатных и нештатных ситуациях ?) совокупность логически законченных действий, который необходим надуровню для выполнения его функций Вопрос id:2288004 Тема/шкала: 2762.01.01;МТ.01;1 - Модульный тест - Сети связи и системы коммутации Рекомендации G.803 - это ?) общая функциональная архитектура транспортной сети ?) функциональная архитектура транспортной сети на основе ATM ?) транспортная сеть SDN ?) оптическая транспортная сеть Вопрос id:2288005 Тема/шкала: 2762.01.01;МТ.01;1 - Модульный тест - Сети связи и системы коммутации Сетевидная топология – это ?) топология, в которой между парой узлов только один путь ?) топология, в которой каждый узел является смежным только с небольшим числом других узлов ?) топология, в которой узлы не соединены ?) топология, в которой узлы соединены по принципу «каждый с каждым» Вопрос id:2288006 Тема/шкала: 2762.01.01;МТ.01;1 - Модульный тест - Сети связи и системы коммутации Служба передачи графической информации, отображаемая на приемном конце движением «пера», пишущего на передающем конце канала, – это ?) телефакс ?) телерукопись ?) телетекст ?) телеслужба Вопрос id:2288007 Тема/шкала: 2762.01.01;МТ.01;1 - Модульный тест - Сети связи и системы коммутации Служба передачи ?) сервис, обеспечивающий преобразование сигналов канального уровня в физический ?) служба электросвязи, обеспечивающая только возможность передачи сигналов по сети связи между стыками сети с абонентскими оконечными устройствами ?) сервис электросвязи, обеспечивающий сортировку по виду передаваемых сообщений ?) служба электросвязи, которая организуется с целью непосредственного обмена сообщениями между оконечными устройствами пользователей через сети электросвязи Вопрос id:2288008 Тема/шкала: 2762.01.01;МТ.01;1 - Модульный тест - Сети связи и системы коммутации Совокупность КЦДС, расположенных на одном ПУ и связывающих их СЛ, образуют ?) опорные зоны опорной сети ?) опорную сеть связи ?) подсети дальней связи ?) транзитные КЦ Вопрос id:2288009 Тема/шкала: 2762.01.01;МТ.01;1 - Модульный тест - Сети связи и системы коммутации Создание и обслуживание маршрутов передачи данных для пользователей с различными терминалами и запросами на услуги связи обеспечивает ?) уровень каналов ?) уровень трактов ?) уровень поддержки доступа ?) физический уровень Вопрос id:2288010 Тема/шкала: 2762.01.01;МТ.01;1 - Модульный тест - Сети связи и системы коммутации Способ коммутации, при котором обеспечивается временное соединение каналов на различных участках сети для образования прямого канала между любой парой абонентских пунктов этой сети – это ?) коммутация каналов ?) коммутация сообщений ?) гибридная коммутация ?) временная коммутация Вопрос id:2288011 Тема/шкала: 2762.01.01;МТ.01;1 - Модульный тест - Сети связи и системы коммутации Среди основных видов информации, передаваемой в ЦСИО, отсутствует такой вид, как ?) пользовательская ?) административного управления ?) обслуживания ?) сигнальная Вопрос id:2288012 Тема/шкала: 2762.01.01;МТ.01;1 - Модульный тест - Сети связи и системы коммутации Телекоммуникационные системы передачи синхронной цифровой иерархии принципиально отличаются от ранее существовавших цифровых систем передачи, что ?) они являются «производителями» информации ?) они основываются только на способах коммутации сообщений и коммутации пакетов ?) они не транспортируются в виде виртуальных контейнеров ?) они не являются «производителями» информации, а предназначены только для высокоэффективной передачи и распределения цифровых потоков Вопрос id:2288013 Тема/шкала: 2762.01.01;МТ.01;1 - Модульный тест - Сети связи и системы коммутации Терминальный мультиплексор – это ?) оконечное устройство сети с определенным числом каналов доступа и одним или двумя оптическими входами/выходами, называемыми агрегатными портами или интерфейсами ?) устройство, предназначенное для соединения каналов, закрепленных за пользователями путем организации постоянных или полупостоянных перекрестных соединений между ними ?) устройство сопряжения магистральных линий ?) устройство коммутации Вопрос id:2288014 Тема/шкала: 2762.01.01;МТ.01;1 - Модульный тест - Сети связи и системы коммутации Типовой архитектурой сети доступа не является ?) архитектура «петля» ?) архитектура «каскад» ?) архитектура «кольцо» ?) архитектура «звезда» Вопрос id:2288015 Тема/шкала: 2762.01.01;МТ.01;1 - Модульный тест - Сети связи и системы коммутации Топологическая структура сети – это ?) графическое изображение вторичной сети связи ?) обобщенная геометрическая модель физической структуры сети ?) совокупность функциональных элементов сети ?) схема связей физических элементов сети Вопрос id:2288016 Тема/шкала: 2762.01.01;МТ.01;1 - Модульный тест - Сети связи и системы коммутации Тракты образуются только при наличии информационного сообщения, а в его отсутствие физические ресурсы транспортной сети отдаются для передачи других сигналов ?) в сетях как ATM, так и SDN ?) в сети АTM ?) в перспективных (разрабатываемых в настоящее время) сетях ?) в сети SDN Вопрос id:2288017 Тема/шкала: 2762.01.01;МТ.01;1 - Модульный тест - Сети связи и системы коммутации Требуемая для Ш-ЦСИО максимальная скорость передачи подвижных изображений ?) 140 Мбит/с ?) 128 Мбит/с ?) 64 Мбит/с ?) 280 Мбит/с Вопрос id:2288018 Тема/шкала: 2762.01.01;МТ.01;1 - Модульный тест - Сети связи и системы коммутации Требуемая для Ш-ЦСИО скорость передачи интерактивных данных в цифровой форме ?) не менее 64 Кбит/с ?) не менее 256 Кбит/с ?) 200 бит/с–64 Кбит/с ?) не менее 1 Мбит/с Вопрос id:2288019 Тема/шкала: 2762.01.01;МТ.01;1 - Модульный тест - Сети связи и системы коммутации Требуемая для Ш-ЦСИО скорость передачи речи в цифровой форме ?) 2 Мбит/с ?) 256 Кбит/с ?) 64 Мбит/с ?) 64 Кбит/с Вопрос id:2288020 Тема/шкала: 2762.01.01;МТ.01;1 - Модульный тест - Сети связи и системы коммутации Увеличение пропускной способности (емкости) канала приводит ?) к снижению затрат на один канал пропорционально кубическому корню от емкости ?) к снижению затрат на один канал связи обратно пропорционально корню квадратному от емкости ?) к прямо пропорциональному увеличению затрат на один канал ?) к снижению затрат на один канал прямо пропорционально емкости Вопрос id:2288021 Тема/шкала: 2762.01.01;МТ.01;1 - Модульный тест - Сети связи и системы коммутации Услуги доставки сообщений предоставляют ?) доставку речевых, факсимильных сообщений, электронной почты ?) прием телеграмм по телефону и справку местной телефонной сети ?) заказ ремонта телефонной сети и таксофонов ?) конференц-связи, сокращенный набор номера вызываемого абонента и переадресацию Вопрос id:2288022 Тема/шкала: 2762.01.01;МТ.01;1 - Модульный тест - Сети связи и системы коммутации Физическая структура сети – это ?) организация коммутационных устройств и каналов связи с их принципами установления связей и алгоритмами управления процессами ?) схема связей узлов коммутации, оконечных пунктов и линий передачи в их взаимном расположении с характеристиками передачи и распределения сообщений ?) конкретный состав аппаратно-программных средств и схема их связей ?) совокупность взаимоувязанных каналов связи Вопрос id:2288023 Тема/шкала: 2762.01.01;МТ.01;1 - Модульный тест - Сети связи и системы коммутации Х.25 МСЭ-Т определяет ?) процедуры функционирования сетей ПД-КК ?) процедуры функционирования сетей ПД-КС ?) алгоритмы функционирования ООД ?) процедуры взаимодействия между пакетным оконечным оборудованием данных (ООД) и оконечной аппаратурой канала данных (АКД) Вопрос id:2288024 Тема/шкала: 2762.01.01;МТ.01;1 - Модульный тест - Сети связи и системы коммутации Характеристики опорного тактового сигнала сети SDN определяются рекомендацией ITU-T. Погрешность его частоты и стабильность должны быть порядка ?) ±10-8 ?) ±10-11 ?) ±10-6 ?) ±10-12 Вопрос id:2288025 Тема/шкала: 2762.01.01;МТ.01;1 - Модульный тест - Сети связи и системы коммутации ЦСИО должна обеспечить доставку сообщения не более чем за ?) 10 мс ?) 1 мс ?) 100 мкс ?) 100 мс Вопрос id:2288026 Тема/шкала: 2762.01.01;МТ.01;1 - Модульный тест - Сети связи и системы коммутации Эталонная модель взаимодействия открытых систем предусматривает уровни, расположенные снизу вверх, имеющие номера и названия ?) У1 физический, У2 канальный, У3 сетевой, У4 транспортный, У5 представительный, У6 сеансовый, У7 прикладной ?) У1 прикладной, У2 представительный, У3 сеансовый, У4 транспортный, У5 сетевой, У6 канальный, У7 физический ?) У1 физический, У2 канальный, У3 сетевой, У4 транспортный, У5 сеансовый, У6 представительный, У7 прикладной ?) У1 канальный, У2 физический, У3 сетевой, У4 транспортный, У5 сеансовый, У6 представительный, У7 прикладной Вопрос id:2288027 Тема/шкала: 2762.01.01;МТ.01;1 - Модульный тест - Сети связи и системы коммутации Сеть, поддерживающая множество служб: телефонную, передачи данных, изображений – называется ?) ЦСК ?) ЭТУС ?) ЦСИО ?) ТАУК Вопрос id:2288028 Тема/шкала: 2762.02.01;МТ.01;1 - Модульный тест - Сети связи и системы коммутации
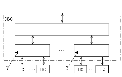
В системе базовой станции стандарта GSM (рис. 3) под блоками, обозначенными “?”, понимаются ?) контроллеры базовой станции ?) базовые приемопередающее станции ?) передающие станции ?) источники бесперебойного питания Вопрос id:2288029 Тема/шкала: 2762.02.01;МТ.01;1 - Модульный тест - Сети связи и системы коммутации
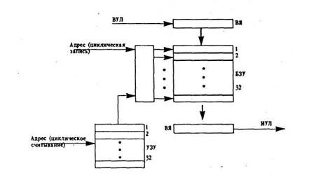
На рис. 4 отображен ?) пространственный однокаскадный коммутационный блок, применяемый в узкополосных ЦСИО ?) принцип временной коммутации для узкополосных ЦСИО ?) принцип пространственно-временной коммутации в узкополосных ЦСИО ?) устройство управления коммутацией для транкинговых систем Вопрос id:2288031 Тема/шкала: 2762.02.01;МТ.01;1 - Модульный тест - Сети связи и системы коммутации На рис. 1 один под временем, обозначенным «?», понимается
?) время коммутации ?) время буферизации пакета ?) время считывания содержания заголовка пакета ?) время задержки, обусловленное временем передачи пакета по каналу связи Вопрос id:2288032 Тема/шкала: 2762.02.01;МТ.01;1 - Модульный тест - Сети связи и системы коммутации На структурной схеме цифровой подвижной станции рис. 2, входящей в систему сотовой связи, в приемнике недостает следующих блоков (справа налево):
?) только декодера канала, декодера речи, ЦАП ?) только демодулятора, (эквалайзера), декодера канала, ЦАП ?) демодулятора, (эквалайзера), декодера канала, декодера речи, цифро-аналогового преобразователя (ЦАП) ?) только модулятора, (эквалайзера), декодера речи, ЦАП Вопрос id:2288033 Тема/шкала: 2762.02.01;МТ.01;1 - Модульный тест - Сети связи и системы коммутации Функцией выходного контроллера узла коммутации является
?) выходной контроллер (Вых.К) пересылает быстрые пакеты (БП) с выходов коммутационной системы в выходные линии связи, осуществляя мультиплексирование. При этом в быстрые пакеты (БП) удаляется его заголовок, и БП превращается в ячейку ?) выходной контроллер (Вых.К) собирает в буфере все пакеты, составляющие сообщение. При недостаче пакетов отбрасывает (ликвидирует) быстрые пакеты (БП) ?) выходной контроллер (Вых.К) осуществляет маршрутизацию быстрых пакетов (БП) ?) выходной контроллер (Вых.К) осуществляет согласование характеристик узла коммутации и линии связи Вопрос id:2288034 Тема/шкала: 2762.02.01;МТ.01;1 - Модульный тест - Сети связи и системы коммутации Использование схемы позволяет применить
?) на 100 номеров 100 ДШИ-100 ?) на 100 номеров 20 ДШИ-100 ?) на 100 номеров 10 ДШИ-100 ?) на 100 номеров 10 ДШИ-100 (декадно-шаговых искателей) и 10 ШИ-10 (шаговых искателей) Вопрос id:2288035 Тема/шкала: 2762.02.01;МТ.01;1 - Модульный тест - Сети связи и системы коммутации На рисунке блок СОУ – это
?) система обслуживания управления, предназначенная для предоставления интерфейсу управления ресурсами необходимой справочной информации ?) система обеспечения управления, предназначенная для обеспечения устройства управления сетевыми ресурсами пакет необходимых сервисов ?) система оперативного управления, предназначенная для обеспечения при участии оператора формирования новых функциональных компонентов, составления и модификации сервисных логических программ, введения новых и исключения имеющихся видов сервиса по запросам абонентов, а также сбор статистики о частоте выполнения видов сервиса и повреждениях на ИСС, техническое обслуживание ИСС ?) сканирующий объект управления, осуществляющий динамическое тестирование элементов автоматического управления сетевой информационной базы данных (СИБД) Вопрос id:2288036 Тема/шкала: 2762.02.01;МТ.01;1 - Модульный тест - Сети связи и системы коммутации На следующей схеме представлено
?) герконовый коммутационный прибор ?) структура коммутационного поля ?) схема электронного коммутатора ?) декадно-шаговый коммутационный прибор Вопрос id:2288037 Тема/шкала: 2762.02.01;МТ.01;1 - Модульный тест - Сети связи и системы коммутации На следующей схеме представлены
?) коммутатор ?) соединительный тракт ?) основные составляющие коммутационного узла ?) двухкаскадная коммуникационная система Вопрос id:2288038 Тема/шкала: 2762.02.01;МТ.01;1 - Модульный тест - Сети связи и системы коммутации Адаптивная коммутация при совместной коммутации каналов и пакетов ?) основана на идее статистического уплотнения, занятого соединением в режиме КК канала пакетами в паузах между передачей данных или при разговоре ?) заключается в том, что на время сеанса связи для передачи пакетов устанавливается виртуальный канал, как и на сети КП, т.е. фактически выбирается лишь путь передачи пакетов ?) заключается в том, что после установления виртуального канала для каждого поступающего в узел коммутации пакета устанавливается временной канал, как и при установлении канала при КК ?) заключается в установлении канала в узле коммутации от входа к выходу, которая происходит не на время сеанса связи, а лишь на время передачи пакета Вопрос id:2288039 Тема/шкала: 2762.02.01;МТ.01;1 - Модульный тест - Сети связи и системы коммутации В коммутационной системе (КC) с самомаршрутизацией ?) осуществляется предварительное занесение в нее информации о порядке коммутации быстрых пакетов (БП), передаваемого в заданном виртуальном канале. При этом во входном контроллере не происходит приписывания заголовка быстрых пакетов (БП) ?) на входе в КС и входе в заголовок быстрых пакетов (БП) добавляется заголовок, определяющий порядок перемещения БП в коммутационной системе самостоятельно ?) осуществляется объединение пакетов в сообщение, после чего сообщение заново разбивается на пакеты и формируются новые заголовки ?) осуществляется анализ заголовка, на основе которого выполняется передача пакета по заданному маршруту Вопрос id:2288040 Тема/шкала: 2762.02.01;МТ.01;1 - Модульный тест - Сети связи и системы коммутации В коммутационных приборах типа (п т)?) каждому из п входов доступен только один конкретный из т выходов. Одновременно может быть установлено только одно соединение ?) каждому из п входов доступно k из т выходов. Одновременно может быть установлено k<n соединений ?) каждому из п входов доступен любой из т выходов. В приборе одновременно может быть установлено п соединений, если п ≤ т, или т соединений, если п > т ?) каждому из п C т входов доступно одновременно п C т-1 выходов. Одновременно может быть установлено (п C т)/2 соединений Вопрос id:2288041 Тема/шкала: 2762.02.01;МТ.01;1 - Модульный тест - Сети связи и системы коммутации В настоящее время наиболее перспективной считается КС ?) временного типа ?) матричного типа ?) буферного типа ?) шинного типа Вопрос id:2288042 Тема/шкала: 2762.02.01;МТ.01;1 - Модульный тест - Сети связи и системы коммутации В цифровых АТС существуют следующие виды коммутации каналов передачи речи ?) местная, транзитная и распределение вызовов ?) прямая и каскадная ?) малоемкостная, многоемкостная и коммутация средней емкости ?) маркерная и немаркерная Вопрос id:2288043 Тема/шкала: 2762.02.01;МТ.01;1 - Модульный тест - Сети связи и системы коммутации В широкополосных цифровых сетях интегрированного обслуживания (ЦСИО) при быстрой коммутации пакетов выполняются функции ?) маркировочной коммутации, при которой происходит изменение (модификация) номера виртуального канала во входящей линии связи (ВЛна новый номер виртуального канала в исходящей линии связи ?) только маркировочной коммутации, при которой происходит изменение (модификация) номера виртуального канала во входящей линии связи (ВЛна новый номер виртуального канала в исходящей линии связи только передачи пакетов в соответствии с адресом, находящимся в заголовке пакета ?) мультиплексорной коммутации, т.е. передачи быстрого пакета (БП) с входного демультиплексора в выходной мультиплексор (коммутация типа М) ?) только мультиплексорной коммутации, т.е. передачи быстрого пакета (БП) с входного демультиплексора в выходной мультиплексор (коммутация типа М) Вопрос id:2288044 Тема/шкала: 2762.02.01;МТ.01;1 - Модульный тест - Сети связи и системы коммутации Внутриполосная сигнализация от звена к звену – это такая сигнализация, в которой (которая) ?) усиливается на участках переприема ?) осуществляется с помощью аналоговых систем передачи с ЧРК ?) сигналы между исходящей и входящей АТС передаются по разговорному тракту без преобразования и анализа в промежуточных коммутационных узлах ?) вся адресная информация обрабатывается в каждой АТС Вопрос id:2288045 Тема/шкала: 2762.02.01;МТ.01;1 - Модульный тест - Сети связи и системы коммутации Вторая модификация КП отличается от первой тем, что ?) датаграммный режим передачи пакетов дополнен виртуальным вызовом. Виртуальный вызов заключается в том, что перед тем как передать из исходящего абонентского пункта пакеты сообщения в сеть связи (т.е. начать сеанс связи), абонентский пункт исходящий посылает специальный пакет (пакет виртуального вызова с информацией о том, что абонентский пункт исходящий собирается передать в данный абонентский пункт входящий сообщение с указанием его величины. При этом датаграммы передаются по одному маршруту. ?) датаграммный режим передачи пакетов дополнен виртуальным вызовом. Виртуальный вызов заключается в том, что каждый пакет сопровождается передачей служебного пакета по параллельному маршруту ?) датаграммный режим передачи пакетов дополнен виртуальным вызовом, после приема которого для передачи пакетов резервируется ресурсы канала связи по заданному маршруту ?) датаграммный режим передачи пакетов дополнен виртуальным вызовом. Виртуальный вызов заключается в том, что перед тем как передать из исходящего абонентского пункта пакеты сообщения в сеть связи (т.е. начать сеанс связи), абонентский пункт исходящий посылает специальный пакет (пакет виртуального вызова с информацией о том, что абонентский пункт исходящий собирается передать в данный абонентский пункт входящий сообщение с указанием его величины. При этом датаграммы передаются по разным маршрутам. Вопрос id:2288046 Тема/шкала: 2762.02.01;МТ.01;1 - Модульный тест - Сети связи и системы коммутации Входные устройства осуществляют необходимые преобразования входящих сигналов: аналого-цифровое для аналоговых сигналов или согласование скоростей для цифровых входных сигналов. На основе некоторого правила арбитража шины (например, на основе ярлыков) происходит ее совместное использование. Такой способ используется для ?) построения пространственных коммутационных полей ?) построения временных коммутационных полей ?) построения коммутационных полей на основе разделяемой памяти ?) построения пространственно-временных коммутационных полей Вопрос id:2288047 Тема/шкала: 2762.02.01;МТ.01;1 - Модульный тест - Сети связи и системы коммутации Дальнейшее увеличение емкости АТС обычно не производят ?) при требуемой емкости телефонной сети более 10 тыс. номеров ?) при требуемой емкости телефонной сети более 50 тыс. номеров ?) при требуемой емкости телефонной сети более 100 тыс. номеров ?) при требуемой емкости телефонной сети более 1 тыс. номеров Вопрос id:2288048 Тема/шкала: 2762.02.01;МТ.01;1 - Модульный тест - Сети связи и системы коммутации Для обслуживания 100 абонентов необходимо и достаточно иметь ?) 100100 - линейных искателей ?) 10-15100 - линейных искателей ?) 10-1510 - линейных искателей ?) 100-150 10 – линейных искателей |
Copyright tests.ithead.ru 2013-2026









т)