Тесты онлайн, бесплатный конструктор тестов. Психологические тестирования, тесты на проверку знаний.
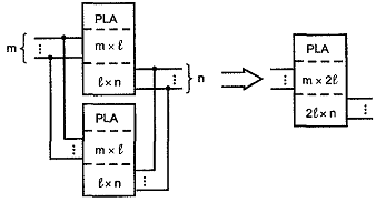
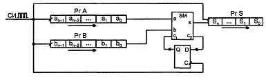
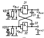
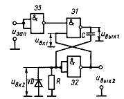
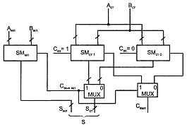
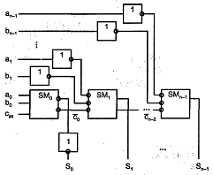
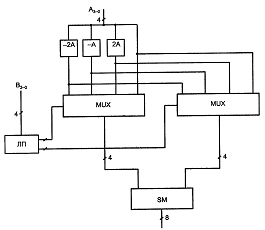
Список вопросов базы знанийСхемотехника ЭВМ (для специалистов)Вопрос id:2333812 Тема/шкала: 1219.Зач.01;ТБПД.01;1 - Тестовая база по дисциплине - Схемотехника ЭВМ (для специалистов) На рисунке изображена схема структуры ![]() ?) ПЛМ, реализованной на МОП-транзисторах ?) ПЛМ, реализованной в биполярной технологии ?) ПМЛ ?) БМК Вопрос id:2333813 Тема/шкала: 1219.Зач.01;ТБПД.01;1 - Тестовая база по дисциплине - Схемотехника ЭВМ (для специалистов) На рисунке изображена схема: ![]() ?) приоритетного шифраторы ?) двоичного шифратора ?) указателя старшей единицы ?) двоичного дешифратора Вопрос id:2333814 Тема/шкала: 1219.Зач.01;ТБПД.01;1 - Тестовая база по дисциплине - Схемотехника ЭВМ (для специалистов) На рисунке изображена схема: ![]() ?) мультиплексора ?) шифратора ?) демультиплексора ?) компаратора Вопрос id:2333815 Тема/шкала: 1219.Зач.01;ТБПД.01;1 - Тестовая база по дисциплине - Схемотехника ЭВМ (для специалистов) На рисунке изображена схема: ![]() ?) компаратора ?) мультиплексора ?) сумматора ?) шифратора Вопрос id:2333816 Тема/шкала: 1219.Зач.01;ТБПД.01;1 - Тестовая база по дисциплине - Схемотехника ЭВМ (для специалистов) На рисунке изображены временные диаграммы работы ![]() ?) счетчика Джонсона ?) полиномиального счетчика ?) распределителя тактов ?) сдвигающего регистра Вопрос id:2333817 Тема/шкала: 1219.Зач.01;ТБПД.01;1 - Тестовая база по дисциплине - Схемотехника ЭВМ (для специалистов) На рисунке приведена структура ЗУ типа ![]() ?) 2DM ?) 3D ?) 2D ?) 2M Вопрос id:2333818 Тема/шкала: 1219.Зач.01;ТБПД.01;1 - Тестовая база по дисциплине - Схемотехника ЭВМ (для специалистов) На рисунке приведена структура ЗУ типа ![]() ?) 2M ?) 2DM ?) 2D ?) 3D Вопрос id:2333819 Тема/шкала: 1219.Зач.01;ТБПД.01;1 - Тестовая база по дисциплине - Схемотехника ЭВМ (для специалистов) На рисунке приведена структура кэш-памяти ![]() ?) полностью ассоциативной ?) наборно-ассоциативной ?) частично ассоциативной ?) с прямым размещением Вопрос id:2333820 Тема/шкала: 1219.Зач.01;ТБПД.01;1 - Тестовая база по дисциплине - Схемотехника ЭВМ (для специалистов) На рисунке приведена структура кэш-памяти ![]() ?) частично ассоциативной ?) с прямым размещением ?) с ассоциацией по нескольким направлениям ?) полностью ассоциативной Вопрос id:2333821 Тема/шкала: 1219.Зач.01;ТБПД.01;1 - Тестовая база по дисциплине - Схемотехника ЭВМ (для специалистов) На рисунке приведена структура кэш-памяти ![]() ?) частично ассоциативной ?) с прямым размещением ?) наборно-ассоциативной ?) полностью ассоциативной Вопрос id:2333822 Тема/шкала: 1219.Зач.01;ТБПД.01;1 - Тестовая база по дисциплине - Схемотехника ЭВМ (для специалистов) На рисунке приведена структура: ![]() ?) быстрого умножения ?) сумматора с условным переносом ?) накапливающего сумматора ?) множительно-суммирующего блока Вопрос id:2333823 Тема/шкала: 1219.Зач.01;ТБПД.01;1 - Тестовая база по дисциплине - Схемотехника ЭВМ (для специалистов) На рисунке приведена схема ![]() ?) параллельного периферийного адаптера ?) программируемого связного адаптера ?) контроллера прерываний ?) контроллера прямого доступа Вопрос id:2333824 Тема/шкала: 1219.Зач.01;ТБПД.01;1 - Тестовая база по дисциплине - Схемотехника ЭВМ (для специалистов) На рисунке приведена схема ![]() ?) контроллера прерываний ?) программируемого интервального таймера ?) программируемого связного адаптера ?) контроллера прямого доступа Вопрос id:2333825 Тема/шкала: 1219.Зач.01;ТБПД.01;1 - Тестовая база по дисциплине - Схемотехника ЭВМ (для специалистов) На рисунке приведена схема ![]() ?) параллельного периферийного адаптера ?) буферного регистра ?) шинного формирователя ?) шифратора Вопрос id:2333826 Тема/шкала: 1219.Зач.01;ТБПД.01;1 - Тестовая база по дисциплине - Схемотехника ЭВМ (для специалистов) На рисунке приведена схема ![]() ?) буферного регистра ?) шифратора ?) шинного формирователя ?) параллельного периферийного адаптера Вопрос id:2333827 Тема/шкала: 1219.Зач.01;ТБПД.01;1 - Тестовая база по дисциплине - Схемотехника ЭВМ (для специалистов) На рисунке приведена схема использования ПЗУ для построения ![]() ?) табличного вычислителя ?) генератора последовательности сигналов ?) комбинационной схемы ?) микропрограммного автомата Вопрос id:2333828 Тема/шкала: 1219.Зач.01;ТБПД.01;1 - Тестовая база по дисциплине - Схемотехника ЭВМ (для специалистов) На рисунке приведена схема использования ПЗУ для построения ![]() ?) комбинационной схемы ?) табличного вычислителя ?) микропрограммного автомата ?) генератора последовательности сигналов Вопрос id:2333829 Тема/шкала: 1219.Зач.01;ТБПД.01;1 - Тестовая база по дисциплине - Схемотехника ЭВМ (для специалистов) На рисунке приведена схема расширения ПЛМ по числу ![]() ?) входов и термов ?) входов ?) термов ?) выходов Вопрос id:2333830 Тема/шкала: 1219.Зач.01;ТБПД.01;1 - Тестовая база по дисциплине - Схемотехника ЭВМ (для специалистов) На рисунке приведена схема расширения ПЛМ по числу ![]() ?) выходов на единицу ?) входов в два раза ?) выходов в два раза ?) входов на единицу Вопрос id:2333831 Тема/шкала: 1219.Зач.01;ТБПД.01;1 - Тестовая база по дисциплине - Схемотехника ЭВМ (для специалистов) На рисунке приведена схема расширения ПЛМ по числу ![]() ?) выходов ?) термов ?) термов и входов ?) входов Вопрос id:2333832 Тема/шкала: 1219.Зач.01;ТБПД.01;1 - Тестовая база по дисциплине - Схемотехника ЭВМ (для специалистов) На рисунке приведена схема расширения ПЛМ по числу ![]() ?) входов ?) выходов ?) термов ?) входов и выходов Вопрос id:2333833 Тема/шкала: 1219.Зач.01;ТБПД.01;1 - Тестовая база по дисциплине - Схемотехника ЭВМ (для специалистов) На рисунке приведена схема реализации команд ввода при обмене ![]() ?) программном условном с занятием цикла ?) программном безусловном ?) программном условном совмещенном ?) прерываний Вопрос id:2333834 Тема/шкала: 1219.Зач.01;ТБПД.01;1 - Тестовая база по дисциплине - Схемотехника ЭВМ (для специалистов) На рисунке приведена схема реализации команд ввода при обмене ![]() ?) программном безусловном ?) прерываний ?) прямого доступа к памяти ?) программном условном Вопрос id:2333835 Тема/шкала: 1219.Зач.01;ТБПД.01;1 - Тестовая база по дисциплине - Схемотехника ЭВМ (для специалистов) На рисунке приведена схема: ![]() ?) последовательного сумматора ?) блока ускоренного переноса ?) параллельного сумматора с последовательным переносом ?) параллельного сумматора с параллельным переносом Вопрос id:2333836 Тема/шкала: 1219.Зач.01;ТБПД.01;1 - Тестовая база по дисциплине - Схемотехника ЭВМ (для специалистов) На рисунке приведена схема: ![]() ?) свертки по модулю 2 ?) сумматора для параллельных операндов с последовательным переносом ?) сумматора для параллельных операндов с параллельным переносом ?) контроля с использованием кодов Хемминга Вопрос id:2333837 Тема/шкала: 1219.Зач.01;ТБПД.01;1 - Тестовая база по дисциплине - Схемотехника ЭВМ (для специалистов) На рисунке приведена схема: ![]() ?) элемента задержки ?) ждущего мультивибратора ?) автоколебательного мультивибратора ?) блокинг-генератора Вопрос id:2333838 Тема/шкала: 1219.Зач.01;ТБПД.01;1 - Тестовая база по дисциплине - Схемотехника ЭВМ (для специалистов) На рисунке приведена схема: ![]() ?) параллельного периферийного адаптера ?) программируемого связного адаптера ?) контроллера прямого доступа к данным ?) контроллера прерываний Вопрос id:2333839 Тема/шкала: 1219.Зач.01;ТБПД.01;1 - Тестовая база по дисциплине - Схемотехника ЭВМ (для специалистов) На рисунке приведена схема: ![]() ?) ждущего мультивибратора ?) элемента задержки ?) блокинг-генератора ?) автоколебательного мультивибратора Вопрос id:2333840 Тема/шкала: 1219.Зач.01;ТБПД.01;1 - Тестовая база по дисциплине - Схемотехника ЭВМ (для специалистов) На рисунке приведена схема: ![]() ?) одноразрядного сумматора ?) последовательного сумматора ?) компаратора ?) параллельного сумматора с параллельным переносом Вопрос id:2333841 Тема/шкала: 1219.Зач.01;ТБПД.01;1 - Тестовая база по дисциплине - Схемотехника ЭВМ (для специалистов) На рисунке приведена схема: ![]() ?) параллельного периферийного адаптера ?) программируемого связного адаптера ?) контроллера прямого доступа ?) контроллера прерываний Вопрос id:2333842 Тема/шкала: 1219.Зач.01;ТБПД.01;1 - Тестовая база по дисциплине - Схемотехника ЭВМ (для специалистов) На рисунке приведена схема: ![]() ?) сумматора с условным переносом ?) сумматора групповой структуры с параллельным межгрупповым переносом ?) накапливающего сумматора ?) быстрого умножения Вопрос id:2333843 Тема/шкала: 1219.Зач.01;ТБПД.01;1 - Тестовая база по дисциплине - Схемотехника ЭВМ (для специалистов) На рисунке приведена схема: ![]() ?) параллельного сумматора с последовательным переносом ?) параллельного сумматора с параллельным переносом ?) сумматора групповой структуры с цепным переносом ?) быстрого умножения Вопрос id:2333844 Тема/шкала: 1219.Зач.01;ТБПД.01;1 - Тестовая база по дисциплине - Схемотехника ЭВМ (для специалистов) На рисунке приведена схема: ![]() ?) быстрого умножения ?) блока ускоренного переноса ?) множительно-суммирующего блока ?) параллельного сумматора с параллельным переносом Вопрос id:2333845 Тема/шкала: 1219.Зач.01;ТБПД.01;1 - Тестовая база по дисциплине - Схемотехника ЭВМ (для специалистов) На рисунке приведена схема: ![]() ?) блока ускоренного переноса ?) множительно-суммирующего блока ?) быстрого умножения ?) сумматора с условным переносом Вопрос id:2333846 Тема/шкала: 1219.Зач.01;ТБПД.01;1 - Тестовая база по дисциплине - Схемотехника ЭВМ (для специалистов) На рисунке приведена схема: ![]() ?) параллельного сумматора с параллельным переносом ?) сумматора групповой структуры с цепным переносом ?) сумматора групповой структуры с параллельным межгрупповым переносом ?) параллельного сумматора с последовательным переносом Вопрос id:2333847 Тема/шкала: 1219.Зач.01;ТБПД.01;1 - Тестовая база по дисциплине - Схемотехника ЭВМ (для специалистов) На рисунке приведена схема: ![]() ?) компаратор кодов ?) блокинг-генератора ?) автоколебательного мультивибратора ?) формирователя импульсов Вопрос id:2333848 Тема/шкала: 1219.Зач.01;ТБПД.01;1 - Тестовая база по дисциплине - Схемотехника ЭВМ (для специалистов) На рисунке приведена схема: ![]() ?) контроля с использованием кодов Хемминга ?) сумматора для параллельных операндов с последовательным переносом ?) сумматора для параллельных операндов с параллельным переносом ?) свертки по модулю 2 Вопрос id:2333849 Тема/шкала: 1219.Зач.01;ТБПД.01;1 - Тестовая база по дисциплине - Схемотехника ЭВМ (для специалистов) На схемах двухступенчатый триггер обозначается ?) ТТ ?) Т2 ?) 2Т ?) Т Вопрос id:2333850 Тема/шкала: 1219.Зач.01;ТБПД.01;1 - Тестовая база по дисциплине - Схемотехника ЭВМ (для специалистов) Недостатком использования одновибраторов является: ?) низкая точность задания длительности выходных импульсов ?) узкий круг решаемых задач ?) высокая потребляемая мощность ?) необходимость в использовании сложных схем запуска Вопрос id:2333851 Тема/шкала: 1219.Зач.01;ТБПД.01;1 - Тестовая база по дисциплине - Схемотехника ЭВМ (для специалистов) Недостатком синхронных счетчиков по сравнению с асинхронными и синхронными с асинхронным переносом является ?) невозможность наращивания разрядности ?) более сложное управление ?) непостоянное время задержки ?) меньшее быстродействие Вопрос id:2333852 Тема/шкала: 1219.Зач.01;ТБПД.01;1 - Тестовая база по дисциплине - Схемотехника ЭВМ (для специалистов) Недостатком триггеров и регистров по сравнению с другими типами микросхем с памятью является ?) узкое применение ?) необходимость их синхронизации ?) очень маленький объем их внутренней памяти ?) невысокое быстродействие Вопрос id:2333853 Тема/шкала: 1219.Зач.01;ТБПД.01;1 - Тестовая база по дисциплине - Схемотехника ЭВМ (для специалистов) Недостатком элементов с открытым коллектором является: ?) незащищенность от повреждений из-за ошибок управления ?) большая задержка переключения из 0 в 1 ?) большая задержка переключения из 1 в 0 ?) невозможность реализации дополнительных операций монтажной логики Вопрос id:2333854 Тема/шкала: 1219.Зач.01;ТБПД.01;1 - Тестовая база по дисциплине - Схемотехника ЭВМ (для специалистов) Недостатком элементов с третьим состоянием является: ?) невысокая нагрузочная способность ?) большая задержка переключения из 1 в 0 ?) незащищенность от повреждений из-за ошибок управления ?) большая задержка переключения из 0 в 1 Вопрос id:2333855 Тема/шкала: 1219.Зач.01;ТБПД.01;1 - Тестовая база по дисциплине - Схемотехника ЭВМ (для специалистов) Некоторый набор схемных элементов, регулярно повторяющийся на определенной площади кристалла, называется ?) библиотекой функциональных ячеек ?) эквивалентным вентилем ?) базовой ячейкой ?) функциональной ячейкой Вопрос id:2333856 Тема/шкала: 1219.Зач.01;ТБПД.01;1 - Тестовая база по дисциплине - Схемотехника ЭВМ (для специалистов) Некотрые схемы помимо комбинационной части содержат на кристалле триггера, это ПЛМ с ?) памятью ?) разделяемыми коньюнкторами ?) программируемым выходным буфером ?) двунаправленным буфером Вопрос id:2333857 Тема/шкала: 1219.Зач.01;ТБПД.01;1 - Тестовая база по дисциплине - Схемотехника ЭВМ (для специалистов) Немаскируемым входом прерываний в микропроцессоре К1821 является ?) RST 7,5 ?) TRAP ?) INTR ?) RST 5,5 Вопрос id:2333858 Тема/шкала: 1219.Зач.01;ТБПД.01;1 - Тестовая база по дисциплине - Схемотехника ЭВМ (для специалистов) Несколько страниц основной памяти строго соответствуют одной строке кэша в кэш-памяти ?) частично ассоциативной ?) полностью ассоциативной ?) наборно-ассоциативной ?) с прямым размещением Вопрос id:2333859 Тема/шкала: 1219.Зач.01;ТБПД.01;1 - Тестовая база по дисциплине - Схемотехника ЭВМ (для специалистов) Несколько строк кэша объединяются в наборы в кэш-памяти ?) с ассоциацией по нескольким направлениям ?) с прямым размещением ?) полностью ассоциативной ?) частично ассоциативной Вопрос id:2333860 Тема/шкала: 1219.Зач.01;ТБПД.01;1 - Тестовая база по дисциплине - Схемотехника ЭВМ (для специалистов) Обеспечивается определенными уровнями сигналов, их мощностями совместимость модулей МПС ?) функциональная ?) механическая ?) структурная ?) электрическая Вопрос id:2333861 Тема/шкала: 1219.Зач.01;ТБПД.01;1 - Тестовая база по дисциплине - Схемотехника ЭВМ (для специалистов) Область применения масочных ЗУ ?) замена ими сложных комбинационных схем ?) построение генераторов сложных последовательностей цифровых импульсов ?) построение микропрограммных автоматов ?) хранение стандартной информации, имеющей широкий круг потребителей |
Copyright tests.ithead.ru 2013-2026




































