Список вопросов базы знанийЕГЭ Физика
Вопрос id:438329 Тема/шкала: B23-Механика — квантовая физика (методы научного познания)-Анализ таблиц Идеальный одноатомный газ расширяется при постоянном давлении. В таблице приведена зависимость внутренней энергии U этого газа от занимаемого им объёма V. Чему равно давление газа?
?) 2 атм. ?) 3 атм. ?) 4 атм. ?) 1 атм. Вопрос id:438330 Тема/шкала: B23-Механика — квантовая физика (методы научного познания)-Анализ таблиц Идеальный одноатомный газ нагревается при постоянном объёме. В таблице приведена зависимость внутренней энергии U этого газа от его давления p. Чему равен объём газа?
?) 4 м3 ?) 2 м3 ?) 1 м3 ?) 3 м3 Вопрос id:438331 Тема/шкала: B23-Механика — квантовая физика (методы научного познания)-Анализ таблиц У ученика имеются четыре прямоугольных бруска — из парафина, пробки, резины, дерева — и три сосуда с различными жидкостями — нефтью, глицерином и водой. Плотности материалов брусков и жидкостей приведены в следующей таблице.
При погружении в сосуд будет плавать погружённым на четверть своего объёма
?) брусок из дерева в глицерине ?) брусок из парафина в нефти ?) брусок из резины в глицерине ?) брусок из пробки в глицерине Вопрос id:438332 Тема/шкала: B23-Механика — квантовая физика (методы научного познания)-Анализ таблиц В таблице представлены результаты измерения напряжения U между концами некоторого проводника и силы тока I, протекающего в этом проводнике.
Закон Ома для данного проводника
?) выполняется в интервале напряжений от 4 В до 8 В ?) выполняется в интервале напряжений от 0 В до 4 В ?) выполняется в интервале напряжений от 0 В до 8 В ?) не выполняется ни в каком интервале напряжений Вопрос id:438333 Тема/шкала: B23-Механика — квантовая физика (методы научного познания)-Анализ таблиц У ученика имеются четыре прямоугольных бруска — из парафина, пробки, резины, дерева — и три сосуда с различными жидкостями — нефтью, глицерином и водой. Плотности материалов брусков и жидкостей приведены в следующей таблице.
При погружении в сосуд будет плавать погружённым на три четверти своего объёма
?) брусок из резины в нефти ?) брусок из дерева в глицерине ?) брусок из резины в глицерине ?) брусок из пробки в воде Вопрос id:438334 Тема/шкала: B23-Механика — квантовая физика (методы научного познания)-Анализ таблиц В таблице представлены результаты измерения напряжения U между концами некоторого проводника и силы тока I, протекающего в этом проводнике.
Закон Ома для данного проводника
?) выполняется в интервале напряжений от 5 В до 8 В ?) выполняется в интервале напряжений от 0 В до 5 В ?) не выполняется ни в каком интервале напряжений ?) выполняется в интервале напряжений от 0 В до 8 В Вопрос id:438335 Тема/шкала: B23-Механика — квантовая физика (методы научного познания)-Анализ таблиц Шар радиусом 10 см равномерно заряжен электрическим зарядом. В таблице представлены результаты измерений модуля напряжённости E электрического поля от расстояния r до поверхности этого шара.
Чему равен модуль заряда шара?
?) 4 нКл ?) 2 нКл ?) 1 нКл ?) 3 нКл Вопрос id:438336 Тема/шкала: B23-Механика — квантовая физика (методы научного познания)-Анализ таблиц Шар радиусом 20 см равномерно заряжен электрическим зарядом. В таблице представлены результаты измерений модуля напряжённости E электрического поля от расстояния r до поверхности этого шара.
Чему равен модуль заряда шара?
?) 3 нКл ?) 4 нКл ?) 1 нКл ?) 2 нКл Вопрос id:438337 Тема/шкала: B23-Механика — квантовая физика (методы научного познания)-Погрешность Чтобы оценить, с какой скоростью упадет на землю мяч с балкона 6-го этажа, используем для вычислений на калькуляторе формулу
?) ![]() ?) ![]() ?) ![]() ?) Вопрос id:438338 Тема/шкала: B23-Механика — квантовая физика (методы научного познания)-Погрешность Из куска тонкого медного провода длиной 2 м собираются согнуть окружность. Предварительно вычисляют диаметр окружности с помощью калькулятора и получают на экране число 0,6369426. Чему будет равен диаметр окружности, если точность измерения длины провода равна 1 см?
?) ![]() ?) ![]() ?) ![]() ?) Вопрос id:438339 Тема/шкала: B23-Механика — квантовая физика (методы научного познания)-Погрешность Чтобы определить массу гвоздя, на рычажные весы несколько раз кладут по
?) ![]() ?) ![]() ?) ![]() ?) Вопрос id:438340 Тема/шкала: B23-Механика — квантовая физика (методы научного познания)-Погрешность В результате теоретических расчетов ученик пришел к следующему выводу: при смешивании двух одинаковых по массе порций воды, температура которых соответственно равна
?) условия опыта не соответствуют теоретической модели, используемой при расчете ?) не надо было встряхивать пробирку ?) с учетом погрешности измерения эксперимент подтвердил теоретические расчеты ?) для измерения температуры был взят термометр со слишком большой ценой деления, что не позволило проверить гипотезу Вопрос id:438341 Тема/шкала: B23-Механика — квантовая физика (методы научного познания)-Погрешность Толщина пачки из 200 листов бумаги равна
?) ![]() ?) ![]() ?) ![]() ?) Вопрос id:438342 Тема/шкала: B23-Механика — квантовая физика (методы научного познания)-Погрешность Тонкий провод намотали на круглый карандаш в один слой так, чтобы соседние витки соприкасались. Оказалось, что
?) ![]() ?) ![]() ?) ![]() ?) Вопрос id:438343 Тема/шкала: B23-Механика — квантовая физика (методы научного познания)-Погрешность Чтобы оценить, каков будет период малых колебаний математического маятника, используем для вычислений на калькуляторе формулу
?) 2,4322335 с ?) ![]() ?) ![]() ?) ![]() Вопрос id:438344 Тема/шкала: B23-Механика — квантовая физика (методы научного познания)-Погрешность Чтобы определить объем канцелярской скрепки, в мензурку погружают N=20 таких скрепок. Измерение показывает, что объем воды изменился относительно первоначального уровня на
?) ![]() ?) ![]() ?) ![]() ?) ![]() Вопрос id:438345 Тема/шкала: B23-Механика — квантовая физика (методы научного познания)-Погрешность Для определения диаметра тонкого провода его намотали на круглый карандаш в один слой так, чтобы соседние витки соприкасались. Оказалось, что
?) (0,15 ± 0,01) мм ?) (0,30 ± 0,02) мм ?) (0,15 ± 0,1) мм ?) (0,3 ± 1) мм Вопрос id:438346 Тема/шкала: B23-Механика — квантовая физика (методы научного познания)-Погрешность Для измерения диаметра зубочистки в её наиболее толстой части некоторое количество зубочисток выложили на миллиметровую бумагу в ряд - сторона к стороне. Оказалось, что 20 зубочисток занимают на бумаге ширину 34 мм. Чему равен, согласно проведенным измерениям, диаметр зубочистки?
?) (3,4 ±0,5) мм ?) (1,7 ± 1,0) мм ?) (1,7 ±0,1) мм ?) (1,70 ±0,03) мм Вопрос id:438347 Тема/шкала: B23-Механика — квантовая физика (методы научного познания)-Погрешность Для измерения толщины спички у некоторого количества спичек отрезали серные головки, а затем плотно уложили ряд этих спичек на дно спичечного коробка. Оказалось, что 20 спичек как раз влезают в коробок шириной 30 мм. Ширина коробка измерялась при помощи линейки с миллиметровыми делениями. Чему равна, согласно проведённым измерениям, толщина спички?
?) (1,5 ±1) мм ?) (1,5 ± 0,1) мм ?) (3,0 ± 1,0) мм ?) (1,50 ± 0,03) мм Вопрос id:438348 Тема/шкала: B23-Механика — квантовая физика (методы научного познания)-Погрешность Исследовалась зависимость электрического сопротивления Z участка цепи переменного тока от частоты
Какой из графиков построен правильно с учётом всех результатов измерений и их погрешностей?
Вопрос id:438349 Тема/шкала: B23-Механика — квантовая физика (методы научного познания)-Погрешность Банку с горячей водой поставили в миску с холодной водой и через равные промежутки времени измеряли значения температуры холодной воды. Погрешности измерения температуры и времени соответственно равны 2 °С и 10 с. Результаты измерений представлены в таблице.
Какой из графиков построен правильно с учётом всех результатов измерений и их погрешностей?
Вопрос id:438350 Тема/шкала: B23-Механика — квантовая физика (методы научного познания)-Погрешность Вынутая из печи стальная деталь остывает. В таблице приведены результаты измерения температуры детали через каждые 1-2 минуты.
Погрешности измерения температуры и времени соответственно равны 50 °С и 10 с. Какой из графиков построен правильно с учётом всех результатов измерений и их погрешностей?
Вопрос id:438351 Тема/шкала: B23-Механика — квантовая физика (методы научного познания)-Погрешность Изучалась зависимость силы тока через вакуумный диод от напряжения между анодом и катодом. На рисунке точками указаны результаты проведённых измерений. Погрешности измерений силы тока и напряжения соответственно равны 0,1 А и 0,1 В. Какой из графиков построен по этим точкам правильно?
Вопрос id:438352 Тема/шкала: B23-Механика — квантовая физика (методы научного познания)-Погрешность Исследовалась известная зависимость модуля силы взаимодействия F двух небольших электрически заряженных тел от расстояния R между ними. Погрешности измерения величин F и R равны соответственно 5 мкН и 0,5 см. Результаты измерений представлены в таблице.
Какой из графиков построен правильно с учётом всех результатов измерений и их погрешностей? Вопрос id:438353 Тема/шкала: B23-Механика — квантовая физика (методы научного познания)-Погрешность На рисунке точками указаны результаты измерений напряжения на конденсаторе при его разряде через резистор в разные моменты времени. Погрешности измерения этих величин соответственно равнялись 0,3 В и 2 с. Какой из графиков правильно построен по этим точкам?
Вопрос id:438354 Тема/шкала: B23-Механика — квантовая физика (методы научного познания)-Погрешность Ученик исследовал движение шарика, брошенного горизонтально. Для этого он измерил координаты летящего шарика в разные моменты времени его движения и заполнил таблицу:
Погрешность измерения координат равна 1 см, а промежутков времени — 0,01 с. На каком из графиков верно построена зависимость координаты у шарика от времени t?
Вопрос id:438355 Тема/шкала: B23-Механика — квантовая физика (методы научного познания)-Погрешность Для определения линейной плотности нити (массы единицы длины) отмеряют отрезок длиной L = 10 м (делают это с очень высокой точностью) и взвешивают его на весах. Масса отрезка оказывается равной m = (12,6 ± 0,1) г. Чему равна линейная плотность нити?
?) 126 ± 1 г/м ?) 1,26 ± 0,01 г/м ?) 1,3г/м ?) 0,79 ± 0,01 г/м Вопрос id:438356 Тема/шкала: B23-Механика — квантовая физика (методы научного познания)-Погрешность Для определения линейной плотности нити (массы единицы длины) отмеряют отрезок длиной L = 5 м (делают это с очень высокой точностью) и взвешивают его на весах. Масса отрезка оказывается равной m = (6,3 ± 0,1) г. Чему равна линейная плотность нити?
?) 31,5 ± 0,1 г/м ?) 1,26 ± 0,02 г/м ?) 1,3г/м ?) 0,79 ± 0,01 г/м Вопрос id:438357 Тема/шкала: B23-Механика — квантовая физика (методы научного познания)-Погрешность Ученик прикрепил пружину одним концом к штативу, а к другому концу этой пружины прикрепил динамометр. Затем ученик измерял величину растяжения пружины
Затем он проделал аналогичный эксперимент, соединив две пружины (точно такие же, как и в первом опыте) параллельно. По результатам этих измерений он построил ещё один график зависимости
Этот график обозначен номером
?) 1 ?) 2 ?) 3 ?) 4 Вопрос id:438358 Тема/шкала: B23-Механика — квантовая физика (методы научного познания)-Погрешность
?) 46,0 мл ± 0,5 мл ?) 46 мл ± 2 мл ?) 44 мл ± 1 мл ?) 46 мл ± 1 мл Вопрос id:438359 Тема/шкала: B23-Механика — квантовая физика (методы научного познания)-Погрешность
?) (758,0 ± 0,5) мм рт. ст. ?) (758 ± 1) мм рт. ст. ?) (762 ± 1) мм рт. ст. ?) (1010 ± 1) мм рт. ст. Вопрос id:438360 Тема/шкала: B23-Механика — квантовая физика (методы научного познания)-Экспериментальное исследование Ученик изучал в школьной лаборатории колебания математического маятника. Результаты измерений каких величин дадут ему возможность рассчитать период колебаний маятника?
?) массы маятника m и знание табличного значения ускорения свободного падения g ?) амплитуды колебаний маятника А и знание табличного значения ускорения свободного падения g ?) длины нити маятника l и знание табличного значения ускорения свободного падения g ?) амплитуды колебаний маятника А и его массы m Вопрос id:438361 Тема/шкала: B23-Механика — квантовая физика (методы научного познания)-Экспериментальное исследование При проведении эксперимента ученик исследовал зависимость модуля силы упругости пружины от длины пружины, которая выражается формулой
Какое(-ие) из утверждений соответствует(-ют) результатам опыта?
А. Длина пружины в недеформированном состоянии равна 3 см. Б. Жесткость пружины равна
?) А и Б ?) Ни А, ни Б ?) А ?) Б Вопрос id:438362 Тема/шкала: B23-Механика — квантовая физика (методы научного познания)-Экспериментальное исследование Необходимо экспериментально обнаружить зависимость периода колебаний пружинного маятника от жесткости пружины.
Какую пару маятников можно использовать для этой цели? На рисунке пружины и грузы изображены в состоянии равновесия.
?) только Б ?) А, В или Г ?) только В ?) только Г Вопрос id:438363 Тема/шкала: B23-Механика — квантовая физика (методы научного познания)-Экспериментальное исследование Необходимо экспериментально выяснить зависимость периода малых колебаний математического маятника от вещества, из которого изготовлен груз. Какую пару маятников (см. рисунок) можно взять для этой цели?
Грузы маятников — полые шарики из меди и алюминия одинаковой массы и одинакового внешнего диаметра.
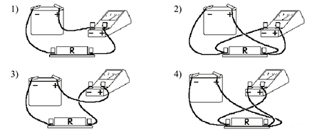
?) 3 ?) 1 ?) 4 ?) 2 Вопрос id:438364 Тема/шкала: B23-Механика — квантовая физика (методы научного познания)-Экспериментальное исследование При измерении напряжения на концах проволочной спирали четыре ученика по-разному подсоединили вольтметр. Результат этих работ изображен на рисунке.
?) 4 ?) 1 ?) 2 ?) 3 Вопрос id:438365 Тема/шкала: B23-Механика — квантовая физика (методы научного познания)-Экспериментальное исследование Пучок белого света, пройдя через призму, разлагается в спектр.
Была выдвинута гипотеза, что ширина спектра, получаемого на стоящем за призмой экране, зависит от угла падения пучка на грань призмы. Необходимо экспериментально проверить эту гипотезу. Какие два опыта нужно провести для такого исследования?
?) Б и В ?) А и Б ?) В и Г ?) Б и Г Вопрос id:438366 Тема/шкала: B23-Механика — квантовая физика (методы научного познания)-Экспериментальное исследование Проводники изготовлены из одного и того же материала.
Какую пару проводников нужно выбрать, чтобы на опыте обнаружить зависимость сопротивления проводника от его длины?
?) 1 ?) 4 ?) 2 ?) 3 Вопрос id:438367 Тема/шкала: B23-Механика — квантовая физика (методы научного познания)-Экспериментальное исследование Проводники изготовлены из разных материалов.
Какую пару проводников нужно выбрать, чтобы на опыте обнаружить зависимость сопротивления проводника от его удельного сопротивления?
?) 4 ?) 2 ?) 3 ?) 1 Вопрос id:438368 Тема/шкала: B23-Механика — квантовая физика (методы научного познания)-Экспериментальное исследование Конденсаторы заполнены одинаковыми диэлектриками.
Какую пару конденсаторов нужно выбрать, чтобы на опыте обнаружить зависимость емкости конденсатора от площади его пластин?
?) 4 ?) 1 ?) 3 ?) 2 Вопрос id:438369 Тема/шкала: B23-Механика — квантовая физика (методы научного познания)-Экспериментальное исследование Конденсаторы заполнены одинаковыми диэлектриками.
Какую пару конденсаторов нужно выбрать, чтобы на опыте обнаружить зависимость емкости конденсатора от расстояния между его пластинами?
?) 2 ?) 3 ?) 4 ?) 1 Вопрос id:438370 Тема/шкала: B23-Механика — квантовая физика (методы научного познания)-Экспериментальное исследование Конденсаторы заполнены разными диэлектриками.
Какую пару конденсаторов нужно выбрать, чтобы на опыте обнаружить зависимость емкости конденсатора от диэлектрической проницаемости?
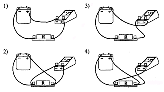
?) 3 ?) 4 ?) 2 ?) 1 Вопрос id:438371 Тема/шкала: B23-Механика — квантовая физика (методы научного познания)-Экспериментальное исследование При измерении силы тока в проволочной спирали R четыре ученика по-разному подсоединили амперметр. Результат изображен на рисунке. Укажите верное подсоединение амперметра.
?) 3 ?) 2 ?) 4 ?) 1 Вопрос id:438372 Тема/шкала: B23-Механика — квантовая физика (методы научного познания)-Экспериментальное исследование Чтобы экспериментально проверить, что жесткость упругого стержня зависит от его длины, надо использовать пару стальных стержней
?) Б и Г ?) В и Г ?) А и Б ?) Б и В Вопрос id:438373 Тема/шкала: B23-Механика — квантовая физика (методы научного познания)-Экспериментальное исследование Два сосуда заполнены разными жидкостями. Какую пару сосудов надо выбрать, чтобы на опыте обнаружить зависимость давления столба жидкости от ее плотности?
?) 4 ?) 2 ?) 3 ?) 1 Вопрос id:438374 Тема/шкала: B23-Механика — квантовая физика (методы научного познания)-Экспериментальное исследование Два сосуда заполнены одинаковой жидкостью. Какую пару сосудов надо выбрать, чтобы на опыте обнаружить зависимость давления столба жидкости от высоты столба?
?) 3 ?) 1 ?) 2 ?) 4 Вопрос id:438375 Тема/шкала: B23-Механика — квантовая физика (методы научного познания)-Экспериментальное исследование Проводники изготовлены из одного и того же материала.
Какую пару проводников нужно выбрать, чтобы на опыте обнаружить зависимость сопротивления проволоки от ее диаметра?
?) 2 ?) 4 ?) 1 ?) 3 Вопрос id:438376 Тема/шкала: B23-Механика — квантовая физика (методы научного познания)-Экспериментальное исследование Была выдвинута гипотеза, что размер мнимого изображения предмета, создаваемого рассеивающей линзой, зависит от оптической силы линзы. Необходимо экспериментально проверить эту гипотезу. Какие два опыта можно провести для такого исследования
?) А и Б ?) Б и В ?) А и В ?) В и Г Вопрос id:438377 Тема/шкала: B23-Механика — квантовая физика (методы научного познания)-Экспериментальное исследование Ученик изучал в школьной лаборатории колебания пружинного маятника. Результаты измерений каких двух величин он должен знать, чтобы определить жесткость пружины маятника?
?) ускорение свободного падения g и амплитуду колебаний маятника А ?) период колебаний маятника Т и массу m груза ?) амплитуду колебаний маятника А и массу m груза ?) амплитуду колебаний маятника А и его период колебаний Т Вопрос id:438378 Тема/шкала: B23-Механика — квантовая физика (методы научного познания)-Экспериментальное исследование Два шара полностью погружены в жидкости разных плотностей. Какую пару шаров надо выбрать, чтобы на опыте обнаружить зависимость силы Архимеда от плотности жидкости?
?) 4 ?) 3 ?) 1 ?) 2 |















. По оценке "на глазок" длина нити равна 















Объём жидкости измерили при помощи мензурки (см. рисунок). Погрешность измерения объёма при помощи данной мензурки равна её цене деления. Какая запись для объёма жидкости наиболее правильная?
На рисунке показаны барометр и часть его шкалы. Абсолютная погрешность измерения давления в мм рт. ст. равна цене деления барометра. Укажите верную запись показаний прибора.















