Тесты онлайн, бесплатный конструктор тестов. Психологические тестирования, тесты на проверку знаний.
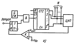
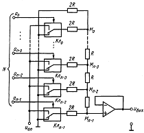
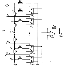
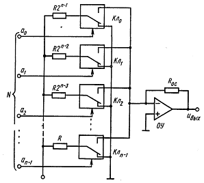
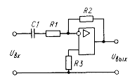
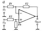
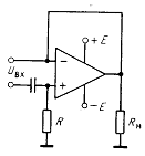
Список вопросов базы знанийСхемотехникаВопрос id:2246212 Тема/шкала: 0647.02.01;СЛ.01;1 - Слайдлекция по модулю - Схемотехника Регистр сдвига на каждом тактовом импульсе принимает новую цифру, сдвигая ранее заполненные цифры на один разряд ?) нет ?) да Вопрос id:2246213 Тема/шкала: 0647.02.01;СЛ.01;1 - Слайдлекция по модулю - Схемотехника Синхронный триггер может устанавливать свое состояние независимо от тактового сигнала до уровня логической единицы ?) верно ?) неверно Вопрос id:2246214 Тема/шкала: 0647.02.01;СЛ.01;1 - Слайдлекция по модулю - Схемотехника Сложение двух многоразрядных двоичных чисел выполняют с помощью параллельной цепочки сумматоров ?) неверно ?) верно Вопрос id:2246215 Тема/шкала: 0647.02.01;СЛ.01;1 - Слайдлекция по модулю - Схемотехника Схема 74LS90 применяется для деления частоты входного сигнала на 7 ?) верно ?) неверно Вопрос id:2246216 Тема/шкала: 0647.02.01;СЛ.01;1 - Слайдлекция по модулю - Схемотехника Схема при коэффициенте деления, равном 24, используется в счетчике цифровых часов ?) верно ?) неверно Вопрос id:2246217 Тема/шкала: 0647.02.01;СЛ.01;1 - Слайдлекция по модулю - Схемотехника Счет выполняется в троичной системе ?) верно ?) неверно Вопрос id:2246218 Тема/шкала: 0647.02.01;СЛ.01;1 - Слайдлекция по модулю - Схемотехника Триггер чувствителен к входным сигналам, когда тактовый сигнал CP принимает низкий уровень ?) да ?) нет Вопрос id:2246219 Тема/шкала: 0647.02.01;СЛ.01;1 - Слайдлекция по модулю - Схемотехника Триггер Шмидта является схемой с двумя устойчивыми состояниями, которые определяются уровнем напряжения на входе ?) нет ?) да Вопрос id:2246220 Тема/шкала: 0647.02.01;СЛ.01;1 - Слайдлекция по модулю - Схемотехника Частота сигнала на выходе D в схеме 74LS90 в 10 раз выше частоты сигнала на входе ?) неверно ?) верно Вопрос id:2246221 Тема/шкала: 0647.02.01;СЛ.01;1 - Слайдлекция по модулю - Схемотехника Элементом двоичных счетчиков является триггер, работающий по принципу "ведущий-ведомый" ?) нет ?) да Вопрос id:2246245 Тема/шкала: 0647.Зач.01;ТБПД.01;1 - Тестовая база по дисциплине - Схемотехника Верно утверждение ?) ![]() ?) ![]() ?) ![]() ?) ![]() Вопрос id:2246246 Тема/шкала: 0647.Зач.01;ТБПД.01;1 - Тестовая база по дисциплине - Схемотехника Верно утверждение ?) ![]() ?) ![]() ?) ![]() ?) ![]() Вопрос id:2246247 Тема/шкала: 0647.Зач.01;ТБПД.01;1 - Тестовая база по дисциплине - Схемотехника Верно утверждение ?) ![]() ?) ![]() ?) ![]() ?) ![]() Вопрос id:2246248 Тема/шкала: 0647.Зач.01;ТБПД.01;1 - Тестовая база по дисциплине - Схемотехника Верно утверждение ?) ![]() ?) ![]() ?) ![]() ?) ![]() Вопрос id:2246249 Тема/шкала: 0647.Зач.01;ТБПД.01;1 - Тестовая база по дисциплине - Схемотехника Верно утверждение ?) ![]() ?) ![]() ?) ![]() ?) ![]() Вопрос id:2246250 Тема/шкала: 0647.Зач.01;ТБПД.01;1 - Тестовая база по дисциплине - Схемотехника Верно утверждение ?) ![]() ?) ![]() ?) ![]() ?) ![]() Вопрос id:2246251 Тема/шкала: 0647.Зач.01;ТБПД.01;1 - Тестовая база по дисциплине - Схемотехника Верно утверждение ?) ![]() ?) ![]() ?) ![]() ?) ![]() Вопрос id:2246252 Тема/шкала: 0647.Зач.01;ТБПД.01;1 - Тестовая база по дисциплине - Схемотехника Верно утверждение ?) ![]() ?) ![]() ?) ![]() ?) ![]() Вопрос id:2246253 Тема/шкала: 0647.Зач.01;ТБПД.01;1 - Тестовая база по дисциплине - Схемотехника Верно утверждение ?) ![]() ?) ![]() ?) ![]() ?) ![]() Вопрос id:2246254 Тема/шкала: 0647.Зач.01;ТБПД.01;1 - Тестовая база по дисциплине - Схемотехника Верно утверждение ?) ![]() ?) ![]() ?) ![]() ?) ![]() Вопрос id:2246255 Тема/шкала: 0647.Зач.01;ТБПД.01;1 - Тестовая база по дисциплине - Схемотехника Верно утверждение ?) ![]() ?) ![]() ?) ![]() ?) ![]() Вопрос id:2246256 Тема/шкала: 0647.Зач.01;ТБПД.01;1 - Тестовая база по дисциплине - Схемотехника Верно утверждение ?) ?) ?) ?) Вопрос id:2246257 Тема/шкала: 0647.Зач.01;ТБПД.01;1 - Тестовая база по дисциплине - Схемотехника Верно утверждение ?) ![]() ?) ![]() ?) ![]() ?) ![]() Вопрос id:2246297 Тема/шкала: 0647.Зач.01;ТБПД.01;1 - Тестовая база по дисциплине - Схемотехника Для операции М2 используют обозначение ?) ![]() ?) ![]() ?) Å ?) ![]() Вопрос id:2246380 Тема/шкала: 0647.Зач.01;ТБПД.01;1 - Тестовая база по дисциплине - Схемотехника На схеме изображен АЦП ![]() ?) последовательный ?) последовательно-параллельный ?) с единичным приближением ?) параллельный Вопрос id:2246381 Тема/шкала: 0647.Зач.01;ТБПД.01;1 - Тестовая база по дисциплине - Схемотехника На схеме изображен АЦП ![]() ?) с единичным приближением ?) интегрирующий ?) с промежуточным преобразованием в интервал времени ?) с двоично-взвешенным приближением Вопрос id:2246382 Тема/шкала: 0647.Зач.01;ТБПД.01;1 - Тестовая база по дисциплине - Схемотехника На схеме изображен АЦП ![]() ?) параллельный ?) последовательно-параллельный ?) с единичным приближением ?) с двоично-взвешенным приближением Вопрос id:2246383 Тема/шкала: 0647.Зач.01;ТБПД.01;1 - Тестовая база по дисциплине - Схемотехника На схеме изображен ЦАП: ![]() ?) с двоично-взвешенными сопротивлениями ?) с матрицей R-2R с суммированием токов ?) с матрицей R-2R с суммированием напряжений ?) с источниками тока на активных элементах Вопрос id:2246384 Тема/шкала: 0647.Зач.01;ТБПД.01;1 - Тестовая база по дисциплине - Схемотехника На схеме изображен ЦАП: ![]() ?) с двоично-взвешенными сопротивлениями ?) с матрицей R-2R с суммированием напряжений ?) с матрицей R-2R с суммированием токов ?) с источниками тока на активных элементах Вопрос id:2246385 Тема/шкала: 0647.Зач.01;ТБПД.01;1 - Тестовая база по дисциплине - Схемотехника На схеме изображен ЦАП: ![]() ?) с матрицей R-2R с суммированием токов ?) с матрицей R-2R с суммированием напряжений ?) с двоично-взвешенными сопротивлениями ?) с источниками тока на активных элементах Вопрос id:2246386 Тема/шкала: 0647.Зач.01;ТБПД.01;1 - Тестовая база по дисциплине - Схемотехника На схеме изображен: ![]() ?) полосовой фильтр ?) фильтр низких частот ?) интегратор ?) фильтр высоких частот Вопрос id:2246387 Тема/шкала: 0647.Зач.01;ТБПД.01;1 - Тестовая база по дисциплине - Схемотехника На схеме изображен: ![]() ?) дифференциальный усилитель ?) повторитель напряжения ?) неинвертирующий усилитель ?) инвертирующий усилитель Вопрос id:2246388 Тема/шкала: 0647.Зач.01;ТБПД.01;1 - Тестовая база по дисциплине - Схемотехника На схеме изображен: ![]() ?) ограничитель ?) инвертирующий усилитель ?) Компаратор ?) фильтр низких частот Вопрос id:2246389 Тема/шкала: 0647.Зач.01;ТБПД.01;1 - Тестовая база по дисциплине - Схемотехника На схеме изображен: ![]() ?) двоенный компаратор ?) дифференциальный усилитель ?) аналоговый коммутатор ?) аналоговый перемножитель Вопрос id:2246390 Тема/шкала: 0647.Зач.01;ТБПД.01;1 - Тестовая база по дисциплине - Схемотехника На схеме изображен: ![]() ?) входной каскад ОУ ?) схема перехода симметричного входного каскада к несимметричному выходу ?) аналоговый ключ ?) выходной каскад ОУ Вопрос id:2246391 Тема/шкала: 0647.Зач.01;ТБПД.01;1 - Тестовая база по дисциплине - Схемотехника На схеме изображен: ![]() ?) повторитель напряжения ?) инвертирующий усилитель ?) дифференциальный усилитель ?) неинвертирующий усилитель Вопрос id:2246392 Тема/шкала: 0647.Зач.01;ТБПД.01;1 - Тестовая база по дисциплине - Схемотехника На схеме изображен ![]() ?) фильтр низких частот ?) инвертирующий усилитель ?) интегратор ?) дифференциальный усилитель Вопрос id:2246393 Тема/шкала: 0647.Зач.01;ТБПД.01;1 - Тестовая база по дисциплине - Схемотехника На схеме изображен ![]() ?) ограничитель напряжения ?) компаратор ?) инвертирующий усилитель ?) интегратор Вопрос id:2246394 Тема/шкала: 0647.Зач.01;ТБПД.01;1 - Тестовая база по дисциплине - Схемотехника На схеме изображен ![]() ?) дифференциальный усилитель ?) фильтр высоких частот ?) фильтр низких частот ?) интегратор Вопрос id:2246396 Тема/шкала: 0647.Зач.01;ТБПД.01;1 - Тестовая база по дисциплине - Схемотехника На схеме изображен ![]() ?) фильтр низких частот ?) фильтр высоких частот ?) интегратор ?) дифференциальный усилитель Вопрос id:2246397 Тема/шкала: 0647.Зач.01;ТБПД.01;1 - Тестовая база по дисциплине - Схемотехника На схеме изображен ![]() ?) неинвертирующий усилитель ?) дифференциальный усилитель ?) инвертирующий усилитель ?) интегратор Вопрос id:2246398 Тема/шкала: 0647.Зач.01;ТБПД.01;1 - Тестовая база по дисциплине - Схемотехника На схеме изображен ![]() ?) повторитель напряжения ?) инвертирующий усилитель ?) дифференциальный усилитель ?) интегратор Вопрос id:2246403 Тема/шкала: 0647.Зач.01;ТБПД.01;1 - Тестовая база по дисциплине - Схемотехника На условно-графических обозначениях символы используются для обозначения?) сумматоров ?) дешифраторов ?) реверсивных регистров сдвига ?) регистров сдвига Вопрос id:2246404 Тема/шкала: 0647.Зач.01;ТБПД.01;1 - Тестовая база по дисциплине - Схемотехника На условно-графических обозначениях символы используются для обозначения?) дешифраторов ?) реверсивных регистров сдвига ?) сумматоров ?) регистров сдвига Вопрос id:2246511 Тема/шкала: 0647.Зач.01;ТБПД.01;1 - Тестовая база по дисциплине - Схемотехника Трехместной элементарной дизъюнкции соответствует аналитическая запись?) ![]() ?) ![]() ?) ![]() ?) ![]() Вопрос id:2246512 Тема/шкала: 0647.Зач.01;ТБПД.01;1 - Тестовая база по дисциплине - Схемотехника Трехместной элементарной конъюнкции соответствует аналитическая запись?) ![]() ?) ![]() ?) ![]() ?) ![]() |
Copyright tests.ithead.ru 2013-2026





































































используются для обозначения
используются для обозначения
соответствует аналитическая запись



соответствует аналитическая запись


