Тесты онлайн, бесплатный конструктор тестов. Психологические тестирования, тесты на проверку знаний.
Список вопросов базы знанийФизика.
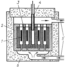
Вопрос id:1825342 Дефект массы - это ?) произведение суммарной массы нуклонов, связанных между собой, и суммарной массы тех же нуклонов, не связанных между собой в ядре атома ?) разность между суммарной массой нуклонов, не связанных между собой, и суммарной массой тех же нуклонов, связанных между собой в ядре атома ?) отношение между суммарной массой нуклонов, не связанных между собой, и суммарной массой тех же нуклонов, связанных между собой в ядре атома ?) отношение между суммарной массой нуклонов, связанных между собой, и суммарной массой тех же нуклонов, не связанных между собой в ядре атома Вопрос id:1825343 Для защиты от -излучения целесообразно применять?) пластмассу ?) свинец ?) дерево ?) сталь Вопрос id:1825344 Для защиты от нейтронов целесообразно использовать ?) воду, бетон ?) дерево, свинец ?) свинец, сталь ?) дерево, пластмассу Вопрос id:1825345 Для осуществления термоядерных реакций синтеза наиболее перспективно использование изотопов водорода, так как у них ?) максимальные силы кулоновского отталкивания ?) минимальная удельная энергия связи ?) максимальная удельная энергия связи ?) минимальные силы кулоновского отталкивания Вопрос id:1825346 Для протекания управляемой ядерной цепной реакции необходимо, чтобы коэффициент размножения нейтронов был ?) равен 0 ?) равен 1 ?) равен 0,5 ?) больше 1 Вопрос id:1825347 Единицей биологической дозы излучения является ?) Кл/кг ?) грей ?) А/кг ?) бэр Вопрос id:1825348 Единицей мощности экспозиционной дозы излучения является ?) А/кг ?) бэр ?) грей ?) Кл/кг Вопрос id:1825349 Единицей поглощенной дозы излучения является ?) А/кг ?) Кл/кг ?) бэр ?) грей Вопрос id:1825350 Единицей экспозиционной дозы излучения является ?) грей ?) бэр ?) А/кг ?) Кл/кг Вопрос id:1825351 Если за год на каждую тысячу атомов радиоактивного стронция распадаются в среднем 24,75 атомов, период полураспада равен ?) 100 лет ?) 10 лет ?) 28,36 лет ?) 1000 лет Вопрос id:1825352 За превращение элементарных частиц друг в друга ответственно взаимодействие ?) сильное (ядерное) ?) гравитационное ?) сильное, слабое, электромагнитное ?) слабое Вопрос id:1825353 Зарегистрировать величину радиационного излучения можно с помощью ?) cчетчика Гейгера ?) камеры Вильсона ?) ядерных фотоэмульсий ?) пузырьковой камеры Вопрос id:1825354 Заряды протона и электрона ?) заряд электрона по модулю больше заряда протона ?) имеют одинаковый знак ?) приблизительно равны ?) равны по модулю Вопрос id:1825355 Значение коэффициента размножения определяется: 1) энергией, выделяющейся при ядерной реакции; 2) захватом нейтронов, не сопровождающимся последующим делением; 3) захватом нейтронов ядрами примесей; 4) вылетом нейтронов из вещества наружу ?) 2, 3, 4 ?) 1, 2 ?) 3, 4 ?) 2, 3 Вопрос id:1825356 Из перечисленных утверждений: 1) число делящихся ядер прямо пропорционально площади поверхности вещества, а число нейтронов, теряемых при утечке, - его объему; 2) число делящихся ядер прямо пропорционально объему вещества, а число нейтронов, теряемых при утечке,- площади его поверхности; 3) число делящихся ядер и число нейтронов, теряемых при утечке, прямо пропорционально площади поверхности вещества; 4) число делящихся ядер и число нейтронов, теряемых при утечке, прямо пропорционально объему вещества - верным является ?) 4 ?) 1 ?) 2 ?) 3 Вопрос id:1825357 Из перечисленных утверждений: 1) энергия связи ядра равна той энергии, которая поглощается при синтезе ядра; 2) энергия связи ядра равна той энергии, которая выделяется при образовании ядра из отдельных частиц; 3) энергия связи ядра - это энергия, необходимая для полного расщепления ядра на отдельные частицы (нуклоны) - неверным является(-ются) ?) 1, 2, 3 ?) 2 ?) 3 ?) 1 Вопрос id:1825358 Из приведенных ниже соотношений для массы стабильного атомного ядра Мя с числом протонов Z и числом нейтронов N: 1) Мя = Zmp + Nmn 2) Мя > Zmp + Nmn 3) Мя < Zmp + Nmn - выполняется(-ются) ?) 1, 3 ?) 3 ?) 1 ?) 2 ?) 1, 2 Вопрос id:1825359 Из приведенных утверждений: 1) ядра атомов у изотопов одного и того же элемента содержат одинаковое число нейтронов, но различное число протонов; 2) изотопы одного и того же элемента занимают в таблице Менделеева одно и то же место; 3) изотопы одного и того же элемента обладают одинаковыми химическими свойствами; 4) ядра атомов у изотопов одного и того же элемента содержат одинаковое число протонов, но различное число нейтронов - неверным является ?) 4 ?) 2 ?) 1 ?) 3 Вопрос id:1825360 Из проведенных утверждений: 1) удельная энергия связи ядра - это энергия связи ядра, разделенная на число нуклонов, т. е. энергия связи, приходящаяся на один нуклон ядра; 2) удельная энергия связи ядра - это энергия, которая необходима для полного расщепления ядра на протоны и нейтроны; 3) чем больше удельная энергия связи ядра, тем ядро менее устойчиво - его легче расщепить на части - правильным(-и) является(-ются) ?) 2 ?) 3 ?) 1 ?) 1, 2, 3 Вопрос id:1825361 Изотоп содержит нейтронов?) 92 ?) 146 ?) 238 ?) 330 Вопрос id:1825362 Изотоп содержит протонов?) 238 ?) 330 ?) 146 ?) 92 Вопрос id:1825363 Имеется радиоактивный цезий массой 8 кг с периодом полураспада 27 лет. Масса нераспавшегося цезия после 135 лет радиоактивного распада равна ?) 0,25 кг ?) 1 кг ?) 2,5 кг ?) 0,025 кг Вопрос id:1825364 Интенсивность космического излучения по мере удаления от земной поверхности ?) убывает ?) быстро растет, достигает максимума, затем уменьшается ?) быстро растет ?) остается практически постоянной Вопрос id:1825365 Коэффициентом размножения нейтронов называют ?) отношение числа нейтронов в каком-либо поколении к числу нейтронов предшествующего поколения ?) сумму числа освобожденных нейтронов при делении ядер ?) число нейтронов в последнем поколении ?) разность между числом нейтронов в двух последовательных поколениях (последующем и предыдущем) Вопрос id:1825366 Критическая масса определяется: 1) видом ядерного горючего; 2) замедлителем; 3) конструктивными особенностями ядерного объекта; 4) мощностью реактора ?) 1; 2; 3 ?) 1; 2; 3; 4 ?) 1; 4 ?) 2, 3 Вопрос id:1825367 Критической массой называется масса урана, в которой коэффициент размножения нейтронов ?) достигает наименьшего значения ?) достигает наибольшего значения ?) равен нулю ?) равен единице Вопрос id:1825368 Между собой два нейтрона ?) притягиваются под действием кулоновских сил ?) отталкиваются под действием кулоновских сил ?) притягиваются под действием ядерных сил ?) отталкиваются под действием ядерных сил Вопрос id:1825369 Метод фотоэмульсий основан на ?) конденсации пересыщенных паров ?) расщеплении молекул движущейся заряженной частицей ?) образовании пара в перегретой жидкости ?) ударной ионизации Вопрос id:1825370 На рисунке излучение радиоактивного вещества исследуется в магнитном поле. Влево отклоняются(-ется) ![]() ?) -лучи?) -лучи?) поток нейтронов ?) -лучиВопрос id:1825371 На рисунке излучение радиоактивного вещества исследуется в магнитном поле. Вправо отклоняются(-ется) ![]() ?) -лучи?) -лучи?) -лучи?) поток нейтронов Вопрос id:1825372 На рисунке представлена кривая зависимости удельной энергии связи атомных ядер от массового числа. При разделении на нуклоны ядер, отмеченных на кривой цифрами 1, 2 и 3, наибольшая энергия на один нуклон затрачивается ядром(-ами) ![]() ?) 1, 3 ?) 3 ?) 2 ?) 1, 2 ?) 1 Вопрос id:1825373 На рисунке цифрой 1 обозначен(-о, -ы) ![]() ?) регулирующие стержни ?) замедлитель нейтронов ?) теплоноситель ?) ядерное топливо ?) защитная оболочка ?) отражатель нейтронов Вопрос id:1825374 На рисунке цифрой 2 обозначен(-о) ![]() ?) отражатель нейтронов ?) теплоноситель ?) замедлитель нейтронов ?) ядерное топливо Вопрос id:1825375 На рисунке цифрой 3 обозначен(-о) ![]() ?) ядерное топливо ?) отражатель нейтронов ?) замедлитель нейтронов ?) теплоноситель Вопрос id:1825376 На рисунке цифрой 4 обозначен(-о, -ы) ![]() ?) регулирующие стержни ?) замедлитель нейтронов ?) ядерное топливо ?) отражатель нейтронов Вопрос id:1825377 На рисунке цифрой 5 обозначен(-о) ![]() ?) отражатель нейтронов ?) замедлитель нейтронов ?) теплоноситель ?) ядерное топливо Вопрос id:1825378 На рисунке цифрой 6 обозначен(-а, -о) ![]() ?) замедлитель нейтронов ?) защитная оболочка ?) ядерное топливо ?) отражатель нейтронов Вопрос id:1825379 Наибольшую проникающую способность имеют(-ет) ?) поток нейтронов ?) -лучи?) -лучи?) -лучиВопрос id:1825380 Нейтрон состоит из ?) протона, электрона и нейтрино ?) мезонов ?) протона, позитрона и нейтрино ?) кварков Вопрос id:1825381 Нейтрон, находящийся вне ядра атома, живет в среднем ?) 1,5-2 года ?) 15 мин ?) 1 секунду ?) 1 ч Вопрос id:1825382 Нейтроны ?) имеют массу, но не имеют заряда ?) имеют массу и заряд ?) не имеют ни массы, ни заряда ?) имеют заряд, но не имеют массы Вопрос id:1825383 Нейтроны легко проникают в ядра атомов, так как ?) у нейтронов отсутствует заряд ?) у них больше масса, чем у других частиц ?) они имеют большую скорость ?) у нейтронов есть спин Вопрос id:1825384 Опытом, подтверждающим реальность явления превращения электромагнитного поля в вещество, является рождение пар электрон - позитрон при поглощении -квантов, обладающих энергией?) меньше 1 МэВ ?) больше 2 МэВ ?) любой ?) больше 1 МэВ Вопрос id:1825385 Поглотителем, захватывающим нейтроны без деления и служащим для регулирования цепной реакции, являются ?) кадмий, бор ?) азот, бериллий ?) графит ?) тяжелая вода, бериллий Вопрос id:1825386 Предельно допустимая доза облучения для лиц, работающих с облучением длительное время, составляет ?) 2 10-5 Гр/год?) 2 10-2 Гр/год?) 2 10-4 Гр/год?) 2 10-3 Гр/годВопрос id:1825387 При бета-распаде испускаются быстрые электроны. Из перечисленных высказываний: 1) в бета-радиоактивном ядре происходит превращение нейтрона в протон с испусканием электрона и нейтрино; 2) электрон освобождается от электронной оболочки атома за счет энергии атомного ядра; 3) электроны входят в состав атомных ядер, оттуда они освобождаются при бета-распаде; 4) электроны появляются за счет превращения гамма-квантов в пары электрон-позитрон; 5) электрон освобождается с электронной оболочки атома в результате фотоэлектрического поглощения гамма-кванта, испущенного ядром - правильно описывает их происхождение ?) 5 ?) 3 ?) 1 ?) 4 ?) 2 Вопрос id:1825388 При взаимодействии нуклоны в ядре обмениваются ?) электронами ?) нейтрино ?) пи-мезонами ?) гамма-квантами Вопрос id:1825389 При внутреннем облучении организма человека, при одинаковой активности и энергии частиц, наиболее опасен вид ионизирующего излучения ?) бета ?) альфа ?) дельта ?) гамма Вопрос id:1825390 При делении одного ядра изотопа освобождается 200 МэВ энергии. При делении всех ядер урана массой 10 кг выделится энергия, равная?) 2,28 1011 МэВ?) 5 1037 МэВ?) 5,123 1027 МэВ?) 2,28 1037 МэВВопрос id:1825391 При захвате ядром изотопа свободного нейтрона оно переходит в возбужденное состояние. У него уменьшается удельная энергия связи. Ядро деформируется, начинает колебаться и делиться на части под действием сил?) упругих ?) гравитационных ?) ядерных ?) кулоновских |
Copyright tests.ithead.ru 2013-2026
-излучения целесообразно применять
содержит нейтронов
содержит протонов
-лучи
-лучи
-лучи
-лучи
-лучи
-лучи






-лучи
-лучи
-лучи
-квантов, обладающих энергией
10-5 Гр/год
10-2 Гр/год
10-4 Гр/год
10-3 Гр/год
освобождается 200 МэВ энергии. При делении всех ядер урана массой 10 кг выделится энергия, равная
1011 МэВ
1037 МэВ
1027 МэВ
1037 МэВ
свободного нейтрона оно переходит в возбужденное состояние. У него уменьшается удельная энергия связи. Ядро деформируется, начинает колебаться и делиться на части под действием сил